Aller au contenu

Messages recommandés

Posté

Au bord du champ, ou en manque de champ ?

La génération des ultrascopiques, eudiascopiques a eu son temps, puis après est apparu le replaçant des plössls et super-plössl en courte focale pour le confort d'observation. Les années 1980-1990 furent fertiles en bouleversement. (Nagler 1 1979)

La révolution a prix raisonnable fut le TMB planetary : un oculaire au champ plus large que le plössl : 58°, un écart inter-pupillaire de 15mm au maximum, bonnette réglable, une maîtrise des images fantômes, une faible distorsion et un champ aplati.

Thomas Back sort là son évolution du plössl : on descend à une ouverture très prononcée avec un piqué central qui tient la route mais pour que tout le champ soit corrigé, l'optimal est à f/7.

 

Autre fournisseur, après son coup sur un autre type, le Sterling plössl, qui élargit le champ des plössls d'une poignée de degrés en plus, Long Pern de Taïwan reprend une idée d'oculaire fortement corrigé sur le champ...

Thomas Back a donné des idées à d'autres, que Télévue ne permettait à personne de scruter.

 

La formule astroplan de Zeiss des années après-guerre (1955-), très appréciée en tant qu'évolution du plössl et de l'orthoscopique avec ses vrais bons 20° corrigés hors d'axe et son champ très plan est à moderniser.

Elle fut à l'origine des masuyama, et toute la clique des évolutions XXXscopiques cités plus haut dont le Meade 4000 SP Japan à 5 lentilles du début (rare). Des verres plus récents et une barlow de bonne qualité, pas trop courte. On pique l'idée à Vixen et ses LVs (1990) mais en ajoutant un petit coup de verre ED, ça fait un peu baisser le relief mais permet d'agrandir le champ de 45->55° . Ça sera la dernière évolution de cette formule qui a un champ "fermé".

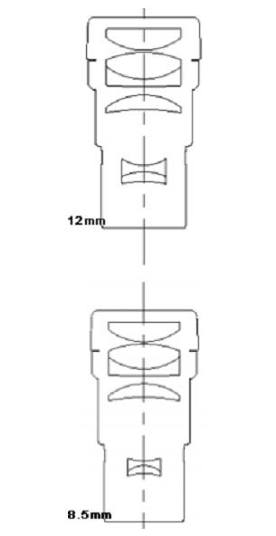
Le SPLER est né : super-plössl long eye relief  ou super planetary. A droite, la base le masuyama à f/12, première évolution avant les crowns lourds (lanthane) et l'amélioration chromatique avec du verre ED.

wospl-schema.jpgeye-spl.JPG

 

Un petit boost à 55°, bon contraste et bonne correction couleur, c'est donc une évolution du pseudo-masuyama/astroplan qui donnait plutôt 51-52°. La présence de verres ED et plus lourd (lanthane) permet de pousser un peu l'angle et la barlow réduit la difficulté de la correction. Ceci améliore le spot en bord de champ. La correction finit par être quasi-complète et le f/D supporté s'améliore également.

La partie œil est bâtie pour procurer un relief de 20mm, suivant l'évolution, elle est de focale fixe ou évolutive entre 17 et 23mm

La transformation de focale vers le planétaire est assurée par une barlow plus ou moins forte. Un 5mm nécessite entre x3 et x4 de barlow. Plus elle est longue et meilleur c'est (moins de courbe, moins de risques de qualité pour le polissage)

 

La leçon des TMB a payé : Long Pern allonge le corps des oculaires de focale courte pour améliorer le piqué.

Ci-dessous, les TMB, bonnette dévissée au max, encadrant le plus grand SPLER. Le bas des lentilles œil sont à peu-près à la même hauteur : le SPLER garde une barlow longue. (cf le schéma en vert au-dessus pour la position du groupe d'oeil)

IMG_20190905_191724c.thumb.jpg.0d6a1ae1a6376c807fc5af81f92ef44f.jpg

 

... Mais ça n'a pas duré bien longtemps : nos amis japonais, plus précis avaient sorti (1990) la série des XL avec ses 10° de plus et ce corps d’œil moins élaboré, mais, on affine déjà la barlow pour les focales courtes et gagner quelques degrés avec une formule plus "ouverte" en champ. Le relief d'oeil est plus court mais il suffit de grossir la partie œil. (d'ou l'aspect en forme de "grenade" des Pentax XL et suivant)

Ca reste plus délicat, le Nikon 5.2 fut pourtant critiqué pour son piqué central pas terrible et ses reflets, mais les 65° ont séduit énormément (avant même le XW).

Anatomie de la concurrence :

xl-pentax-series.jpg OrionEpic-BST-Starguider.jpgBST-StarGuider.jpgXF.jpgXW.gif

De gauche à droite : Pentax XL, Orion Epic°, BST Starguider°, Pentax XF, Pentax xW

(° Ou comment passer outre un brevet en retournant un doublet, enfin en théorie, c'est moins bon ...)

Note : le radian est similaire mais ce n'est pas un ménisque pour la lentille côté ciel du bloc 1-2-1. TV utilise du lanthane (un peu moins de plage couleur mais meilleur piqué)

 

La formule du pentax a évolué et elle est devenue ce qui donne actuellement l'entrée de gamme des ED 60° (Orion Edge On, BST Starguider, Paradigm, TS NED, X-CEL-LX, Meade-HD60)

Les 5° de plus on rincé commercialement cette formule des SPLER chez les débutants.

On sait à quel point les degrés de champs "supplémentaires" ont eu une grande importance pour l'utilisation des dobsons. Explore Scientific a embrayé le pas avec le même nombre de lentilles et à sorti les 82° au lieu de 55°.

Pas grave si c'est de la soupe après les 70% de champ (57°) de toute façon un dobson de base c'est souvent moins piqué qu'un instrument avec suivi équatorial. ES tire un peu sur le bord de la plage couleur, fait du Nagler côté piqué et le tour est joué pour les observateurs lunaire. La réputation se forge mais ça finit par être constaté (reflets, manque de piqué). Sous couvert de relief d'oeil, on finit par sortir une amélioration de champ et bafflage dés que possible (82° LER).

 

Retour au SPLER ?

Bref, il y a quand même eu, il y a une dizaine d'année un cheminement différent, une réflexion globale sur la lunette+accessoire+oculaire insistant sur le piqué et désireux d'augmenter l'efficacité des ortho et des plössl maintenant qu'on a de bons traitements anti-reflets et des bons outils de polissage.

Vic Maris de Stellarvue fait alors produire, à contre courant, une série des SPLER modifiés par ses spécifications et il les rebadge pour être utilisés avec ses instruments réfracteurs haut de gamme en mode exclusivement planétaire.

Ça a pris un peu sur le marché : la série complète des 2.9mm ont été tous vendus mais les 4.9 mm et 6.1 mm ne sont pas tous partis.

 

En voilà un, qui est plutôt cher à faire importer mais dont les qualités sont indéniables pour qui a besoin de confort et de piqué bord à bord.

Il pourrait paraître "SPLER Long Pern" donc, mais avec des spécifications de lentilles légèrement modifiées et un traitement AR revu, à la façon Télévue, pour le dédier au planétaire, c'est du concentré de conception.

J'en ai besoin pour les petites focales ainsi que d'un 3mm William Optics SPL qui est très soigné aussi. Mon astigmatisme est du principalement à de la fatigue oculaire car je travaille sur écran plusieurs heures par jour et j'aime aussi ne pas être collée à l'oculaire. J'évite ainsi les vibrations de mon instrument quand je monte à 400x.

 

Quelques photos sur cette fabrication réussie, un peu de plus soin a été apporté sur ce modèle pourtant si "standard" à l'époque.

A réception : la boîte est longue et l'oculaire fait environ 12cm, 45mm de diamètre, on le tient très bien, il est quand même un peu plus gros que les TMB, pèse un peu moins de 250g. Le capot d’œil apparait plutôt gros : 24mm.

 

IMG_20190905_162304c.thumb.jpg.e7f59de920e1da52c46a4f1ae2e910ad.jpgIMG_20190905_162610c.thumb.jpg.3b56f10632431db1c3b0f436d7b6912f.jpg

Premier abord, ça à l'air moche, mais ...

Le sommet de la bonnette est à ~15mm de la surface de la lentille dépliée. En bas de la bonnette, pas de métal immédiatement, c'est 3mm de caoutchouc épais assez mou mais qui prend bien forme (ça surprend). Je peux voir le champ sans coller l’œil à la bonnette et la lentille d’œil fait bien plus de 20mm de diamètre.

IMG_20190906_085757c.thumb.jpg.50be609a772f0988f11c91678f7dd25e.jpgIMG_20190906_085816c.thumb.jpg.65bd1c865eed319164278bb0ae8bacaf.jpg

La lentille d’œil est donc masquée par le caoutchouc qui est troué à 20mm de diamètre. Par rapport à la surface de la lentille ce plat comprend donc 3mm de caoutchouc mou qui se superpose à 2 autres mm de trou métallique. Quand on replie la bonnette, ça rentre en accordéon de 8-9mm et on peut faire toucher la surface par ses lunettes de vue sans risque et même enfoncer un peu l'accordéon et le mou de protection : astucieux car même sur un Pentax XL, j'ai des scrupules à chaque fois que je regarde dedans, bonnette revissée. (je crains de rayer).

IMG_20190905_162417c.jpg.6e55ed2eda6389a5c78f87c31d92927a.jpgIMG_20190906_085833c.jpg.715615719e91f0ba309172469f31a48d.jpg

Skyvision vend le même genre d'oculaire pour cette bonnette : ils sont affichés de marque Altaïr pour information, c'est la même série Long Pern mais sans la correction des surfaces et des traitements.

C'est moche, moins de détails que le vissant des TMB mais ça marche très bien.

Côté ciel : la barlow est enfoncée et sécurisée à 20mm dans le coulant, plus 1-1.5mm sous l'anneau de retenue qui est biseauté (c'est soigné). Le field stop est derrière cette barlow, il apparait strié, soigné aussi.

Bon il faut reconnaître aussi que c'est un des premiers oculaires qui soit aussi bien bafflé à l'intérieur qu'un TV Radian. On ne voit quasiment rien en éclairant :  j'ai essayé de l'illuminer sans instrument et j'ai fini par viser un néon. Il est vraiment sombre, il y a des reflets mais ceux-ci sont très étalés, pas suffisant pour distinguer des limites de lentilles, des espaceurs ou quoique ce soit, le bafflage et la formule optique sont efficaces à ce sujet.

IMG_20190905_162435c.jpg.f8887bd3b1b0fa54c0a4a6cb267a8068.jpg

 

Test en condition terrestre : le rendu couleur est vraiment excellent, le jour se terminait, il tient parfaitement le rendu couleur d'un Pentax : les nuages se détachent bien sur le bleu du ciel, les piqués/contrastes de végétation sont vifs et joyeux (verts, jaunes, bruns à 1xD quand même) et je suis tombée sur des roses dans un jardin sur lesquelles les pétales roses lignés de rouge léger sont fins et délicats de nuances.

Pas de couleur latérale due à l'image, mais un anneau bleu pacifique, fin, en bord de field stop. Le calage couleur est donc bien descendu vers le jaune soutenu car j'ai déjà vu un liseret sur un WO 12,5mm SPL mais il était plutôt chaud (rouge-orange).

Vic Maris à changé le calage du traitement car sur ce type d'oculaire, il n'y a guère que la barlow qui va provoquer un peu de couleur latérale, surtout si elle est mal ajustée en distance dans la cellule.

Test cette nuit : c'est normal que cet oculaire passe mieux à f/5. Je le mets derrière un simple doublet haut de gamme 49mm/250mm. Saturne, jaune vanille avec des teintes, minuscule, se découpe parfaitement à x50, laissant entrevoir les ombres des anneaux. Restons honnêtes, un Clavé 6 ne pouvait pas piquer autant à f/5.

L'oculaire offre un rendu sans complexe, c'est excellent au bord. C'est sans fatigue d’œil non plus.

 

C'est quand même vrai qu'il est moche ce capot caoutchouc. Vic aurait pu faire mettre quelques étoiles dessus ou le logo, mais bon, après tout ça protège la lentille d’œil et la bonnette est redoutable. Pour l'anecdote, je peux coller un verre de mes lunettes par suscion :p tellement ça prend forme.

 

Reste à passer sur le MN68, mais pas ce soir, je travaille demain.

 

 

  • J'aime 1
  • Merci / Quelle qualité! 6
Posté

Un test sur une Televue Ranger ancienne.

La TV Ranger monte à x2D sur la Lune pendant une phase favorable avant de survoler la ville.

En comparaison avec des TMB : le STV est excellent, c'est au-dessus pour le confort (la bonnette élastique c'est pas bête) et le positionnement d'oeil conditionné du coup. C'est moins violent/rigide que sur les Vixen LVs (je trouvais ça un peu pénible, apréhension)

Je suis passée sur Jupiter qui n'est pas très haut à cette heure (j'ai du attendre un trou de nuages) et c'est au-dessus de la ville.

On passe mieux avec ce Stellarvue qu'avec les TMBs, mais surtout, c'est vraiment sans pertes bord à bord à f/7. Une bande nacrée de Jupiter sort de la turbu, je l'ai vue sur les autres aussi mais c'est cet oculaire qui m'a rappelé son existence : excellente plage couleur comme cité précédemment.

Pas le temps de sortir le MN68 : trop de nuages.

Un oculaire de référence : confort, ergonomie rapide, correction couleur, contraste et champ bord à bord. Il fait plaisir sur la Lune en montrant que la lunette en a encore plus dans le ventre.

---------------------------------

Le deuxième que je cherchais est arrivé. WO SPL 3mm, 15mm plus long, le traitement AR est plus classique, la bonnette est la même.

Super ça, et WO a fait un effort esthétique, le capuchon est plus court et se pose sur la bonnette repliée.

Testé à f/4 sur une semi-apo, c'est propre. La couleur jaune d'automne sort très bien la toiture couleur brique, la pelouse au loin.

Un liseret violet sur ma semi-apo : calé plus haut confirmé (que le Stellarvue)

 

SPLERs_20190910_134004.jpg

Posté

6 ou 7 verres ?

dans un oculaire planétaire moderne.

 

Un  avis de Vladimir Sacek sur le piqué oculaire à f/5, il décortiquait un Nagler qui est connu pour le piqué dans la couleur vert-jaune mais pas pour une correction couleur aussi large pour le planétaire.

Citation

As for why so many elements, the simplest analogy is doublet vs. triplet apo. Anyone who tried to design Smyth-type ep with less than 7 elements, knows that it can work real nice up to about 60 deg, at best, after which secondary astigmatism simply explodes. In order to avoid this, the surface radii need to be weakened by dividing the power onto more surfaces, i.e. elements - just like in an apo triplet it suppresses secondary spherical and spherochromatism. In the eyepiece, for similar reasons, it also makes easier reduction in the spherical aberration of the exit pupil.

 

" Quant à savoir pourquoi tant d’éléments, l’analogie la plus simple est celle de doublet contre triplet apo. Quiconque a essayé de concevoir un oculaire de type Smyth avec moins de 7 éléments sait qu'il peut fonctionner jusqu'à 60 degrés, au mieux, après quoi un astigmatisme secondaire explose. Pour éviter cela, les rayons de surface doivent être affaiblis en divisant la puissance en plusieurs surfaces, c’est-à-dire des éléments - comme dans un triplet apo, il supprime de l'aberration sphèrique et le sphérochromatisme secondaire. Dans l'oculaire, pour des raisons similaires, cela facilite également la réduction de l'aberration sphérique de la pupille de sortie. "

 

Pour comparaison à f/5 du Spler avec d'autres modèles courant.

Le Nagler 1 10mm à 20° hors d'axe. La correction est similaire jusqu'à la dernière génération.

A comparer avec la formule native Astroplan (sans la barlow) au premier post. Ca reste compact mais les couleurs ne sont pas empilées pour rester dans le disque d'Airy (l'Astroplan maintient ça)

Nag1vsSpler.jpg.dc2b19ede1483ceeec909d1c26772b69.jpg

 

Les 6 éléments qui offrent 60° actuellement ne peuvent pas dépasser sans provoquer de l'astigmatisme. (V.Sacek ci-dessus)

Dans les "many brand ED", le verre ED (pour la barlow) sert justement à améliorer la plage/dispersion couleur.

OrionEpic-BST-Starguider.jpgxl-pentax-series.jpg

Dans le pentax XL original, il descend moins +> f/6 mais affiche 65° de champ. Parfois Pentax rajoute une lentille quand ça devient limite.

Testé : le pentax XL 10.5 n'est pas net au bord sur un instrument f/5 : pour une raison d'astigmatisme. (Vla a encore raison : le postulat est vérifié)

 

Le Spler lui est capable de descendre à f/4 (testé), en gardant la plage de couleur complètement corrigée car le design de l'astroplan 2-1-2 est bon à f/12 et la barlow monte rapidement  à *3. Le 1-2-1 nécessitant nativement un f/D plus élevé, ça le limite plus rapidement.

 

Conclusion : effectivement les many brand ED offrent 60°, f/5, 16mm de relief mais c'est limite sur tout les critères.

 

Si on le voulait avec 20mm de relief, il faudrait grossir en proportion la partie œil, allonger le corps également en proportion (force de la barlow). Le prix augmenterait de 70% probablement, il ressemblerait aux Pentax.

 

Ou faire comme le Televue Radian, prendre des verres plus dense pour la partie œil, ce qui permet à la formule de base de descendre en f/D et de complexifier la Barlow-Smyth (3 éléments)

Le radian avait donc deux améliorations : il pouvait descendre à f/4 sans problème et avoir un piqué bord à bord. La correction couleur était certes maitrisée mais d'une plage plus restreinte : principalement planétaire.

 

Au-delà du Spler en terme de champ :

Le Delos est maintenant connu, gros oculaire à 7 lentilles "super spler". La partie œil est une forme d'erflé lourd et une barlow très forte, le tout agrandi a une proportion plus grosse.

La perte en piqué de la partie œil de l'erflé par son champ agrandi est compensée par les dimensions et la barlow.

Il est comme un Nagler réduit en champ pour compenser la  gestion couleur.

 

Un bon postulat de Vladimir Sacek : 6 lentilles ne permettent pas de dépasser une barrière de 60° à un f/D moderne de f/5

La correction couleur n'étant pas parfaite non plus.

On trouve des solutions avec des améliorations :

verre lourd, verre ED, une lentille de plus, réduire le champ.

  • J'aime 2
Posté
Il y a 15 heures, lyl a dit :

Ou faire comme le Televue Radian, prendre des verres plus dense pour la partie œil, ce qui permet à la formule de base de descendre en f/D et de complexifier la Barlow-Smyth (3 éléments)

Le radian avait donc deux améliorations : il pouvait descendre à f/4 sans problème et avoir un piqué bord à bord. La correction couleur était certes maitrisée mais d'une plage plus restreinte : principalement planétaire.

J'ai refait l'essai hier soir justement Lyl !

 

Sur ma vieille TVO Pronto (équivalente Ranger), le Radian 3 (j'ai le 3 et le 4) passe encore parfaitement sur Saturne. On est à 160x.

 

Ils me servent aussi en planétaire et sur les NP avec le Dob 460 (F/D, 3,7).

 

J'ai hésité à me séparer de ces 2 Radian, mais finalement, je pense les garder. Bcp d'utilisateurs ne les avaient pas appréciés pourtant. Les TVO Delite, peu connus, sont plus légers que les Radian et vraiment corrigés de "bord à bord".

 

Bon ciel !

Rejoignez la conversation !

Vous pouvez répondre maintenant et vous inscrire plus tard. Si vous avez un compte, connectez-vous pour poster avec votre compte.

Invité
Répondre à ce sujet…

×   Collé en tant que texte enrichi.   Coller en tant que texte brut à la place

  Seulement 75 émoticônes maximum sont autorisées.

×   Votre lien a été automatiquement intégré.   Afficher plutôt comme un lien

×   Votre contenu précédent a été rétabli.   Vider l’éditeur

×   Vous ne pouvez pas directement coller des images. Envoyez-les depuis votre ordinateur ou insérez-les depuis une URL.

  • En ligne récemment   0 membre est en ligne

    • Aucun utilisateur enregistré regarde cette page.
×
×
  • Créer...

Information importante

Nous avons placé des cookies sur votre appareil pour aider à améliorer ce site. Vous pouvez choisir d’ajuster vos paramètres de cookie, sinon nous supposerons que vous êtes d’accord pour continuer.