Aller au contenu

Test : objectif Carl Zeiss Sonnar 2.8/135 T* C/Y


Messages recommandés

Posté

Test : objectif Carl Zeiss Sonnar 2.8/135 T* C/Y

 

L'objectif Zeiss Sonnar a une focale de 135 mm et ouvre à f/2.8. Il est prévu pour les appareils photo à pellicules 24x36, aussi appelés "plein format". On le trouve d'occasion à environ 160€.

 

image.png.8f50be311a662b4e87cce4ff540bccec.png

 

L'objectif est bien conçu et solide. Il est tout en métal, pèse un peu moins de 590 g. Il dispose d'un pare soleil intégré, métallique lui aussi.

 

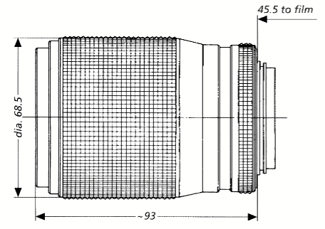
Il est en monture "Contax/Yashica", aussi appelée C/Y et peut ainsi se monter sur les boitiers Canon EF ou EF-S, ainsi que les appareils hybrides Canon, Nikon et Sony entre autres. Il suffit juste de mettre une bague de conversion C/Y vers la bonne monture. La distance bride-capteur est de 45.5 mm ce qui le rend compatible avec les montures hybrides Nikon Z (16 mm), Canon EF-M (18 mm), Sony E et FE (18 mm) et avec les Canon EF/EF-S (44 mm), mais pas avec les montures Nikon F (46.5 mm).

 

La mise au point se fait manuellement, de même que le réglage de l'ouverture. Le diaphragme est composé de 6 lamelles avec une forme en shuriken typique à toute cette gamme de Zeiss. Cela n'a aucune incidence pour la photo astro.

 

Il n'est pas très gros :

image.png.a66d0761482091a0cb913fb7c4a65acf.png

 

Sa formule optique est jugée excellente par les photographes. Il est considéré comme l’un des meilleurs, voire Le meilleur, 135/2.8 de son époque. On voit effectivement que les courbes MTF sont tres  homogènes sur toute la surface du capteur même à f/2.8. Ce n'est que vers 18 mm du centre de l'image que cela se dégrade. Un capteur 24x36 fait 21.6 mm entre le centre et un de ses angles, il n'y a donc qu'une zone de 3-4 mm dans les angles qui commence à se dégrader. En APS-C, la demi diagonale ne fait que 13 mm et se trouve entièrement dans la « bonne » région.

 

image.png.6f9c8dded120094e270d922c6509c10f.png

 

Le vignettage est aussi assez bien contenu à pleine ouverture. 

image.png.a4efd2feba2d9a68b0ea661f61802e3c.png

 

Côté distorsion, là encore on est très bien servi à peine plus de 0.5% aux angles en plein format et 0.2% sur un APS-C :

image.png.7f1af4adbe7bab92ff99dcfca6782b59.png

 

Un test pratique a été effectué par Mickaël Porte.

 

La notice technique est disponible ici.

 

Attention, Yashica a sorti un 135 mm f/2.8 (qu'on trouve à 50 €) mais sa formule optique est différente. Ce n'est pas du tout le même objectif !

 

Un sérieux concurrent à cet objectif est le Tair 11a 135 mm f/2.8 en monture M42.

 

Mise au point

La mise au point est simple à faire. La course de la bague est très ample, contrairement à bon nombre d'objectifs plus récents. Un masque de Bahtinov permet d'accélérer grandement l'obtention de la mise au point, et ce, d'autant plus efficacement que l'objectif est vraiment insensible aux vibrations. En fixant le Bahtinov sur le pare soleil, aucun risque de perdre la MAP en retirant le masque.

 

Installation d'un filtre frontal

Le pas de vis devant l'objectif est un M55 x 0,75 ce qui permet de monter des filtres 2" (filetage 48 mm) avec un réducteur M55>M48, si on accepte le vignettage.

 

Installation d'un filtre 1"1/4

Une particularité de cet objectif est que la lentille arrière est très enfoncée à l'intérieur de l'objectif. Le diamètre du trou par lequel passe la lumière est suffisamment large pour qu'on puisse y placer un filtre 1"1/4. Cela en fait une solution de choix pour faire des photos avec des capteurs N&B, comme celui de mon 500D débayérisé.

 

image.png.c20e634254a5b03045c9f1ed121b9465.png

 

Je me suis fait fabriquer un petit anneau en impression 3D dans lequel on peut visser un filtre 1"1/4, anneau inséré à l'intérieur de l'objectif.

 

image.png.2a2f1d9a80d38fc4184b5836ab4a3315.png

 

Une fois inséré, il est à peine affleurant de l'arrière de l'objectif (la bague chromée avec les contacts électriques est la bague d’adaptation de monture de C/Y > Canon EF) :

image.png.d18d79f642dc0d5d55e9f6ed72b18d62.pngimage.png.f36741aa4f4ae78e04494234c5b7692e.png

 

Il ne reste qu'à y visser le filtre, ici un filtre Omega Optical H-Alpha 10 nm installé dans un support d’un filtre Kepler qui ne me servait pas :

image.png.f4a0d60f53efa05c4ee874440a278b7d.pngimage.png.eda9b0dd30fc9c2df302bbf7426ec3bc.png

 

La bague porte filtre est suffisamment profonde pour que le filtre ne ressorte qu'à peine de l'objectif, suffisamment pour qu'on puisse le visser et dévisser, mais pas trop pour qu'on puisse quand même utiliser un EOS Clip (je mets en permanence un Astronomik UV/IR cut L-3 pour ralentir l'arrivée des poussières sur le capteur).

 

image.png.6e37ba197f9056ece262303b0e01575b.pngimage.png.d05939729b76b257165119360dce7448.png

 

Le vignettage de ce système de porte filtre est faible sur un capteur APS-C. Je ne l'ai pas encore testé sur un plein format, mais il est évident que l'impact sera bien plus important.

 

à suivre ....

 

 

 

  • J'aime 2
  • En ligne récemment   0 membre est en ligne

    • Aucun utilisateur enregistré regarde cette page.
×
×
  • Créer...

Information importante

Nous avons placé des cookies sur votre appareil pour aider à améliorer ce site. Vous pouvez choisir d’ajuster vos paramètres de cookie, sinon nous supposerons que vous êtes d’accord pour continuer.