Aller au contenu

Messages recommandés

Posté
the question is :

Où l'inventeur du téléscope céleste a-t-il séjourné lors de cette invention ?

 

 

Nicolas Louis de Lacaille séjournait au Cap en Afrique du Sud ?

Il y nomma 14 constellations de l'hémisphère sud.

Posté

je te sens un peu taquin Smith ;)

Je sais bien que Le Cap est en Afrique du Sud merci :)

 

Sur quelle montagne ?

C'est intéressant pour une certaine constellation qu'il a nommée là en bas (au Cap) ou là en haut (sur la montagne) :)

C'est du rattrapage QAC mais c'est bon de réviser et comme je ne suis pas sûr que tu aies lu toutes les pages précédentes laborieusement et convivialement élaborées :)

Posté (modifié)

Bonjour,

 

Dans le lien de Smith, il y a une référence à la montagne de la Table... ?

Mais du pur hasard bien sûr.. :be:

 

EDIT: H-S:

 

Tu l'aides ?

ça c'est sympa

petit conseil en passant : penser à s'habiller correctement, ne pas traîner les pieds, pas chewing gum, l'air enthousiaste et heureux de se présenter à l'entretien, montrer qu'il a trouvé le sujet d'étude intéressant et qu'il arrive à avoir du recul sur le texte (bon ben faudrait mettre un "s" à conseil là )

ne pas se perdre dans ses documents, donner direct la convoc et la pièce d'identité, penser à dire bonjour et au revoir, bien regarder l'interlocuteur

avoir l'air naturel quand même, ne pas prendre l'interlocuteur pour une gourde mais s'il pose des questions qui ont l'air évidentes

 

Je ne peux pas vraiment l'aider puisqu'il est en deuxième année de prépa, et il a redoublé sa 1er (au lycée). :)

Moi je l'ai seulement aidé (ou plutôt, fait à sa place... ) pour son TIPE. Mais sachant que ce n'est pas autorisé, je préfère ne pas en parler...

Modifié par adri92
Posté (modifié)

Oui la Table :) !!

Et c'est une des constellations qu'il a créée ;)

(assis dessus :) !!!)

Modifié par yui
Posté (modifié)

Je tente un truc mais depuis le phone ça risque coton :(

Raté !!

Je voulais vous proposer l'équation du seigneur des anneaux en optique :(

Bon je la mettrai plus tard sur l'ordi...

 

En attendant confirmation de Eric pour la constellation du télescope (je pense qu'on est bon là :)), quelqu'un a-t-il une question à proposer :) ?

Modifié par yui
Posté (modifié)

Pour ne pas en rajouter :be: , Yui je t'invite à consulter ceci:

 

http://fr.wikipedia.org/wiki/Afrique

 

Eh oui, on appelle cela UN CONTINENT, si si, j'te jure ;) !

 

Ben...pourquoi tu t'énerves.. ? !ph34r!

 

quelqu'un a-t-il une question à proposer ?

 

Tiens il serait peut être temps que je fasse une petite question.

Mais quand je vois vos questions, avec des fausses pistes, sous forme d’énigmes, ou il faut trouver les premiers indices pour ensuite trouver le reste, je sais que je n'arrive pas à faire de telles questions :cry:. Bon je cherche...:confused:

Modifié par adri92
Posté (modifié)
Ben...pourquoi tu t'énerves.. ? !ph34r!

Mauvaise journée :(

Bon Adri plutôt que de faire dans le taquin toi aussi retrouve l'équation matheuse sans la photo :be:

(t'as vu je sais à présent faire celui-là :be: aussi :))

 

Tu peux en faire une plus basique Adri :)

Genre c'est quoi ce truc : ;)

(t'as pas de photo de ton spectrographe ;) ?)

Modifié par yui
Posté

Je n'ai pas de photos de mon spectrographe, ce n'est de toute façon qu'un réseau simple.. :).

Mais j'ai une idée de question, je la travaille un peu et je vous la mets après.. mais pendant ce temps, si quelqu'un a une question à poser, qu'il n'hésite pas ! ;)

Posté (modifié)

Une petite:

 

Qui sont donc ces 2 astrams ? ( ce ne sont ni Sobiesky ni Ursus, je precise)

 

 

<a href=15831-1309519576.jpg' alt='15831-1309519

 

Bon, et je vous aide beaucoup: Qu'ont-ils découverts ?

Modifié par Sobiesky
Posté (modifié)
Une petite: ( ce ne sont ni Sobiesky ni Ursus, je precise)

ah zut :) !!

Il m'avait pourtant semblé voir un alambic en arrière plan :be:

Bon heu moi je suis off, je peinturlutte ;)

 

Heu Sobiesky n'aurais-tu pas gardé un indice dans ta poche :) ?

Bon je vais chercher un peu :)

Hé ben ça y va les découvertes réalisées par deux astronomes amateurs sur Google : astéroïde, comètes, supernovas...

Copier-coller leurs noms sur Google images s'avère un peu fastidieux, va falloir que je trouve un autre moyen d'action ;)

Modifié par yui
Posté (modifié)

Bon en attendant les confirmations de Eric et Sobiesky je reviens avec mon équation :)

 

Question "optique"

Voici l'équation du Seigneur des anneaux :)

5891354220_1a934b33d8_m.jpg

De quoi s'agit-il :?:

 

Vu que je n'y connais rien en optique, en cas d'abus de position dominante du poseur de question, je peux fournir des indices ;)

 

Ouais c'est un peu balaise hein Ursus :(

je vais quérir un indice :)

 

Je viens de relire la définition du truc, la première fois je n'ai rien compris, la deuxième fois c'est limpide, comme quoi cela vaut le coup de relire parfois :)

bon un indice...

 

5890819897_608270464d.jpg

ça aide ça ?

(dans quoi me suis-je lancé...)

 

Bon un indice décisif afin de donner une chance à chacun :)

J'ai employé le terme de "Seigneur" car son nom très connu de tout astram est très facilement rattachable à l'optique ;)

Modifié par yui
Posté
ah oui !!!

balaise fperez ;)

(j'ai vérifié sur google image :cool:)

bon on attend tout de même la confirmation de Sobiesky :cool:

 

C'est SÛR que c'est cela!

J'ai lu le site donné par Fperez et je suis sûr et certain que c'est cela!

 

Peut être Sobiesky nous précisera pourquoi a t il choisi cette image?;)

Posté (modifié)
C'est SÛR que c'est cela!

J'ai lu le site donné par Fperez et je suis sûr et certain que c'est cela!

 

Peut être Sobiesky nous précisera pourquoi a t il choisi cette image?;)

c'est son ordi sur la photo ;)

 

ah si y a un truc dans son message 1 000 non ?

je vais voir :)

 

:) :

"Je me suis aussi intéressé à la CCD, non seulement pour faire de belles images mais aussi contribuer modestement à la mesure de position et de magnitude d’asteroides. Les messages sur la découverte de la SN dans M51 m’ont rappelé l’extraordinaire aventure partagée avec Philippe Dupouy lors de la découverte de la comète 1997J2 (Meunier-Dupouy) (premiere comete découverte en utilisant un capteur CCD). J’en ferais peut être un CROA un de ces jours, même si cela fait à présent plus de 14 ans."

 

heu...

Modifié par yui
Posté
Bon en attendant les confirmations de Eric et Sobiesky je reviens avec mon équation :)

 

Question "optique"

Voici l'équation du Seigneur des anneaux :)

5891354220_1a934b33d8_m.jpg

De quoi s'agit-il :?:

 

Vu que je n'y connais rien en optique, en cas d'abus de position dominante du poseur de question, je peux fournir des indices ;)

 

Ouais c'est un peu balaise hein Ursus :(

je vais quérir un indice :)

 

Je viens de relire la définition du truc, la première fois je n'ai rien compris, la deuxième fois c'est limpide, comme quoi cela vaut le coup de relire parfois :)

bon un indice...

 

5890819897_608270464d.jpg

ça aide ça ?

(dans quoi me suis-je lancé...)

 

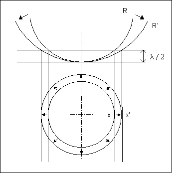
les anneaux de diffraction chers à Airy ?

Posté (modifié)
les anneaux de diffraction chers à Airy ?

Airy ?

oups connais pas celui-là :(

Eric j'ai rajouté l'indice suivant : son nom, connu de tout astram, est très facilement rattachable à l'optique :)

 

J'ai regardé : les anneaux d'Airy sont visibles dans le ciel apparemment...

Pour l'équation de anneaux que l'on cherche il s'agit d'anneaux visibles sur une surface plane, après il se peut bien que les deux phénomènes se recoupent, ça je ne sais...

 

Désolé je dois filer là (laine), je repasse après :)

Modifié par yui
Posté (modifié)
(...)

J'ai regardé : les anneaux d'Airy sont visibles dans le ciel apparemment...

(...)

Pour l'équation de anneaux que l'on cherche il s'agit d'anneaux visibles sur une surface plane, après il se peut bien que les deux phénomènes se recoupent, ça je ne sais... (...)

 

Bonsoir

 

Hibou féru d'optique est de retour !

 

Il me semble que l'énigme concerne les anneaux de Newton, correspondant à un phénomène d'interférences entre deux surfaces de verre très proches

 

EDIT : pour jouer avec des anneaux de Newton (expérience virtuelle interactive) http://ressources.univ-lemans.fr/AccesLibre/UM/Pedago/physique/02/optiphy/newton.html

pour tout savoir sur les interférences dans la zone comprise entre deux verres : http://www.sciences.univ-nantes.fr/sites/jacques_charrier/tp/anneaux/newt.html

 

 

Par contre, le disque et les anneaux d'Airy sont visibles dans l'oculaire d'un instrument bien réglé,( et non pas dans le ciel), ils forment une figure de diffraction, mais on peut aussi glisser le mot "interférence" pour les expliquer.

Modifié par Ygogo
Posté

Ouf Ygogo a trouvé la réponse à ma question un brin bancale :)

 

Ah pas dans le ciel le Airy ? En regardant vite fait de quoi il était question j'ai cru qu'il s'agissait des halos autour des points lumineux (lune, lampadaire...) par temps brumeux...

(faudrait jaaaamais regarder trop vite :()

 

Bon ce coup-ci je file pour de bon :)

Posté
(...)Ah pas dans le ciel le Airy ? En regardant vite fait de quoi il était question j'ai cru qu'il s'agissait des halos autour des points lumineux (lune, lampadaire...) par temps brumeux...

(...)

 

 

Une page comme celle-là : http://comprendre.meteofrance.com/jsp/site/Portal.jsp?&page_id=2826&document_id=955&portlet_id=1760 utilise bien le mot diffraction à propos des halos dans la brume...

mais ce n'est pas la même chose que la tache d'Airy dans un instrument d'optique.

Pour celle-ci, et une jolie démonstration, voir http://uel.unisciel.fr/physique/diffraction/diffraction_ch01/co/apprendre_ch1_04_01.html

Posté (modifié)

Hop un petit saut ni vu ni connu :)

J'ai retrouvé la citation attribuée à Eddington :)

Vous voulez essayer de la trouver ?

(elle ne manque pas de toupet :) en même temps comme personne ne peut réellement vérifier...)

 

Il s'agit d'une phrase relative à la théorie de la relativité, à Einstein et à lui-même :)

Bonnes recherches :)

Modifié par yui
Posté
Hop un petit saut ni vu ni connu :)

 

Tu joues un jeu dangereux...

 

J'ai retrouvé la citation attribuée à Eddington :)(...)

(elle ne manque pas de toupet :) en même temps comme personne ne peut réellement vérifier...)

 

Il s'agit d'une phrase relative à la théorie de la relativité, à Einstein et à lui-même :)

(...)

 

Oui, la modestie n'était pas sa qualité dominante... :p

 

Bon, je pense que je connais la phrase que tu veux qu'on trouve, mais je laisse jouer les autres, sinon les mauvaises langues diront que je suis aussi peu modeste qu'Arthur ! ;)

Posté (modifié)
Tu joues un jeu dangereux...

 

 

 

Oui, la modestie n'était pas sa qualité dominante... :p

 

Bon, je pense que je connais la phrase que tu veux qu'on trouve, mais je laisse jouer les autres, sinon les mauvaises langues diront que je suis aussi peu modeste qu'Arthur ! ;)

 

ah ouais mais personne va oser répondre alors... :be: ou peut-être moi ??

 

"We have found a strange footprint on the shores of the unknown. We have devised profound theories, one after another, to account for its origins. At last, we have succeeded in reconstructing the creature that made the footprint. And lo! It is our own."

Modifié par Dr Eric Simon
Posté

Intéressante citation, Dr Eric, mais il me semble qu'elle ne corrrespond pas à l'indice de Yui : "Il s'agit d'une phrase relative à la théorie de la relativité, à Einstein et à lui-même" *

Je vais essayer de reformuler la question. Si j'ai bien compris ce que demande Yui, tant mieux, si je n'ai pas compris, il le dira, et vous aurez le droit de bien rigoler à mes dépens :be:

 

D'après la légende, quelqu'un aurait dit à Eddington "vous êtes une des trois personnes dans le monde qui sont capables de comprendre la relativité générale" Qu'aurait répondu Eddington ?

Posté
Intéressante citation, Dr Eric, mais il me semble qu'elle ne corrrespond pas à l'indice de Yui : "Il s'agit d'une phrase relative à la théorie de la relativité, à Einstein et à lui-même" *

Je vais essayer de reformuler la question. Si j'ai bien compris ce que demande Yui, tant mieux, si je n'ai pas compris, il le dira, et vous aurez le droit de bien rigoler à mes dépens :be:

 

D'après la légende, quelqu'un aurait dit à Eddington "vous êtes une des trois personnes dans le monde qui sont capables de comprendre la relativité générale" Qu'aurait répondu Eddington ?

 

"Je cherche qui peut bien être la troisième personne"

Invité
Ce sujet ne peut plus recevoir de nouvelles réponses.
  • En ligne récemment   0 membre est en ligne

    • Aucun utilisateur enregistré regarde cette page.
×
×
  • Créer...

Information importante

Nous avons placé des cookies sur votre appareil pour aider à améliorer ce site. Vous pouvez choisir d’ajuster vos paramètres de cookie, sinon nous supposerons que vous êtes d’accord pour continuer.