Aller au contenu

Messages recommandés

Posté (modifié)

Bonjour,

Savez vous si les oculaires nikon 14mm et 17.5mm ont une courbure de champ qui serait gênante avec un paracorr TV type 2 pour un dobson 320mm FD/4?

Modifié par Darth Vader
Posté (modifié)

Bonjour, d'après le brevet, la courbure de champ est mise sous contrôle pour cet oculaire.

La partie oeil est une modification de l'oculaire de König de 1938 (brevet US2206195), destiné aux réfracteurs longs.

 

Il y a deux versions dans le brevet, un en mode relaxé (oculaire à longue focale, pour grand champ) et un, un plus poussé.

La courbure de champ est légère pour les deux.

 

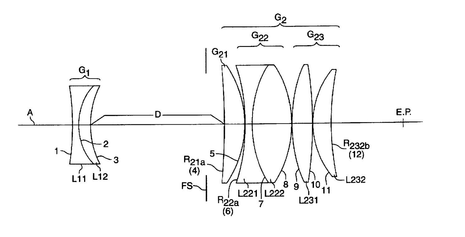
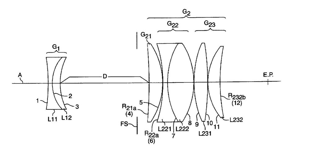
Version de travail 1, 7 verres / 5 groupes : le verre G21 fait monter le relief d'oeil et sert d'étage d'aplatissement comme dans le Morpheus.

courbure légèrement négative et un peu d'astigmatisme au bord (S et M séparé)

Nikon-e.thumb.jpg.39590baa9809499a7c7a01ff9c54471b.jpg      NIKON-SW-1.jpg.6e01c67298e2174a28bcbd930845cc95.jpg

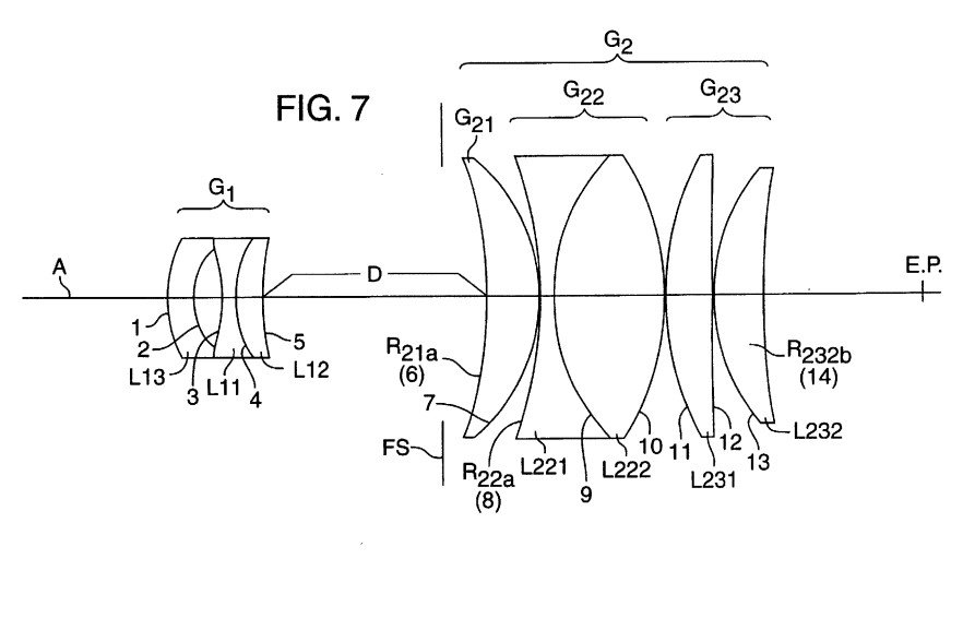
Version plus aboutie à 8 verres / 6 groupes : un verre aplatisseur devant, L13 en plus de G21

courbure légèrement positive, astigmatisme très réduit.

 

NIKONd.jpg.46b56905707d83615d631c7c9af879ff.jpg     NIKON-SW-2.jpg.0e080aa9f634ed147820f0671076fe5c.jpg

 

Pas d'impact avec un paracorr qui est censé aplatir le champ de l'instrument.

A ce que chez vu chez Vladimir Sacek, SW et HW répondent bien à f/D = 5

Modifié par lyl
orthographe et taille des images
Posté

Oui marche très bien sur Newton court, tu peux y aller si toujours dipo.

(Contrairement au XW14, là oui c'est pas idéal sur Newton court, même avec paracorr. bon après ça ne m’empêche pas de l'utiliser, ça reste extrêmement "transparent" et imbattable au centre du champ).

Le Nikon est assez proche du XW en terme de rendu d'ailleurs, très très légèrement plus chaud, un peu comme les Zeiss ortho par rapport au XO d'ailleurs...bref.

 

J'avais vraiment aimé les SW en lunaire, ultra net et contrasté sur tout le champ, ce qui n'est pas si courant sur des grand champ.

 

perso j'ai préféré garder mes XW et prendre des HW en plus. Le HW 17 fait aussi HW14 avec la petite barlow intégrée. De même que le 12.5 passe à 10 au besoin.

  • 1 mois plus tard...
Posté

bonjour a tous,

je saute sur ce post pour vous demander conseil sur la petite famille Nikon NAV SAV.

j'ai fait l'acquisition du 17.5 mm récemment, pas encore de test concluant (météo).

j'ai 3 instruments : newton artisan 320 f5, un C8, et lunette ED proche APO en 102 à f7.

j'utilise les 3 avec autant de plaisir (sur mon balcon ou au col de la bonnette..!)

je souhaiterait agrandir la famille nikon petit à petit.

quel oculaire prendre ensuite , le 10 mm , le 7mm ou la barlow EIC 16 ?
ces oculaires vous ont-ils vraiment emballés ? vous avez trouvé mieux ?

( je suis équipé en Baader eudiascopic du 10 au 32 mm, ES 30 mm 82°, TV Pano 24, Meade UWA 5 mm 100°)

merci beaucoup pour vos suggestions.

eric

 

Posté

Avec un 17.5 le 10mm bien sur, aucun défaut (le 14 avait une légère courbure de champ)

De cette époque j'ai gardé la EIC16 peut être la meilleure barlow du monde, très pratique, qualitative et efficace surtout à l'usage.

Avec le 10 j'obtenais du 6.25mm l'ensemble étant toujours plus léger et compact qu'un 10mm concurrent seul.

J'avais un Dobson 300.

 

 

Posté

merci ,

hé ben on y va pour le 10 mm, à 220 € +frais via un courtier à Tokyo.

la barlow EIC16  sur Haaa-ma zone japon, est autour de 140 €

 

j'ai plus qu' revendre les eudiascopic !

 

Posté

Tu as regardé si l'envoi en France était possible avec Amazon,jp, parce que pour les Nikon HW,  dernièrement c'était niet............

Posté

non amazone japon ne livre pas en Europe, mais tu as de bons courtiers , qui avec 10% de frais du montant achète pour toi.

copier/coller de l'url de la page de ce que tu veux acheter, il te réponde en qqes heures et roule...

compter 10 jours environs, , frais de port environ 22 € 

Posté (modifié)
il y a 2 minutes, eric83 a dit :

non amazone japon ne livre pas en Europe, mais tu as de bons courtiers , qui avec 10% de frais du montant achète pour toi.

 

En fait ne livre plus car c'était encore possible il y a peu et pas mal ici ont fait de bonnes affaires sur les Nikon HW à partir d'amazon.jp directement

Modifié par chris29
Posté

je comprends mieux pourquoi les "courtiers" fleurissent partout en ce moment ! 
leur interface de site web est semblable à une boutique du net , il ya juste un temps de latence

pour qu'il verifie la disponibilité du produit. petite cerise supplémentaire le paiement se fait en dollars,

donc entre 5 et 8% de remise supplémentaire
 

Posté

Bonsoir,

 

J'ai eu une mauvaise expérience avec le NAV SW 14mm.

Retourné au vendeur après l'avoir testé sur newton 300 à f4 + paracorr et lunette à f8.

 

Les bords étaient très décevants. Dommage car le format de cet oculaire m'intérréssait particulièrement pour la bino.

 

Barlowté c'était bon, mais utilisé seul les bords souffraient "d'astig"/courbure. Disons

si le centre du champ etait net les bords ne l'étaient pas du tout. En reprenant la map pour améliorer les bords je n'y arrivais pas complétement.

 

Peut-être c'était juste mon exemplaire.

 

Amicalement, Vincent

Rejoignez la conversation !

Vous pouvez répondre maintenant et vous inscrire plus tard. Si vous avez un compte, connectez-vous pour poster avec votre compte.

Invité
Répondre à ce sujet…

×   Collé en tant que texte enrichi.   Coller en tant que texte brut à la place

  Seulement 75 émoticônes maximum sont autorisées.

×   Votre lien a été automatiquement intégré.   Afficher plutôt comme un lien

×   Votre contenu précédent a été rétabli.   Vider l’éditeur

×   Vous ne pouvez pas directement coller des images. Envoyez-les depuis votre ordinateur ou insérez-les depuis une URL.

  • En ligne récemment   0 membre est en ligne

    • Aucun utilisateur enregistré regarde cette page.
×
×
  • Créer...

Information importante

Nous avons placé des cookies sur votre appareil pour aider à améliorer ce site. Vous pouvez choisir d’ajuster vos paramètres de cookie, sinon nous supposerons que vous êtes d’accord pour continuer.