-
Compteur de contenus
46 -
Inscription
-
Dernière visite
Type de contenu
Profils
Forums
Téléchargements
Blogs
Boutique
Calendrier
Noctua
Tout ce qui a été posté par Gilo
-
Une Vixen 80M qui deboite!
Gilo a répondu à un sujet de Brumeargentee dans Le vintage sur le terrain de L'astronomie vintage !
Salut, ta Vixen A80M est superbe, et le montage sur la monture Carton est vraiment une excellent idée d'amélioration. La lunette gagne en stabilité et confort d'utilisation, tout en gardant son cachet vintage. Et c'est en plus la première série avec le barillet de l'objectif réglable en collimation! Les suivantes étaient tout aussi bonnes optiquement, mais le barillet est devenu fixe. De mon côté, j'ai eu la chance d'en trouver une dans son état d'origine (oculaires et tout), cet été de passage sur la route du sud. Je ne l'ai encore pas beaucoup utilisée, mais je la trouve excellente. C'était une lunette que je recherchais depuis un moment. Bonnes observations avec la A80M! -
Bonjour, La fourche du Powerstar est motorisée par un moteur pas à pas. Le brochage du connecteur Din est disponible sur les moteurs de recherche. Un simple contrôleur à base d'Arduino peut la piloter.
-
Les moteurs du kit pour l'EQ5 sont certainement des moteurs pas à pas, il est fort probable que ce régulateur ne puisse pas être utilisé. Pour ton application, tu peux utiliser une raquette Boxdoerfer MTS-3 qui est paramétrable en terme de rapport de réduction entre le moteur pas à pas et l'axe AD. Il y a en parfois sur les PA, mais cela devient rare, car elles sont recherchées justement pour cela (et pour leur qualité de conception et de fabrication). Une autre option est de réaliser soit même le contrôleur à partir d'une carte Arduino et d'une carte de commande pas à pas type 8825 ou autre.
-
Astro Club Junior "Corsaire" (40/500) [Kenko KT-3]
Gilo a répondu à un sujet de Vador59 dans Restauration de matériels anciens de L'astronomie vintage !
J'ai aussi un exemplaire de cette lunette de 40mm cercle K. Elle est badgée Amiral. Je pense que c'était une lunette terrestre avec redresseur et oculaire zoom intégrés dans le porte-oculaire qui a été transformée en version astro. La construction est tout métal. L'objectif est un doublet. Je vais bricoler un collier en bois pour l'installer sur une monture et la tester sur le ciel. -
Aide prise en main EQ6 R pro, GS Serveur et Carte du ciel
Gilo a répondu à un sujet de -Amenophis- dans Matériel général
Bonjour, - vérifier que la date est entrée dans le format US MM/DD/AA - position de départ de l'axe de déclinaison comme suit: -
Avec mon C8, j'utilise souvent un plossl 12.5mm (Celestron Ultima) qui donne un grossissement qui convient bien pour le planétaire, avec un relief d'oeil encore confortable. Je pense qu'un 10mm marcherait aussi pas mal. J'utilise aussi un Plossl 6mm, mais c'est surtout pour faire la collimation.
-
La GPDX possède des axes acier vs alu pour la GP, et des roues en bronze vs alu pour la GP. C'est ce qui lui confère la capacité de charge utile de 10kg vs 7kg pour la GP.
-
Occaz vintage
Gilo a répondu à un sujet de bosgi dans Discussions générales de L'astronomie vintage !
C'est peut-être l'explication de la cellule arrière cassée sur la 102/900: la lunette dépasse à l'avant du tube, un montage mal équilibré, et l'ensemble aura basculé vers l'avant au déblocage du frein en déclinaison. Et la lunette tape dans la bas de la fourche. Comment sont équilibrés ces C14 de base? Plutôt vers l'arrière? -
Matériel Etoiles doubles
Gilo a répondu à un sujet de T@ygeta dans Discussions générales de L'astronomie vintage !
Bonsoir Christophe, je te fais suivre ce lien qui contient également un table d'étoiles double "classique": https://www.cosmovisions.com/etdo.htm -
Matériel Etoiles doubles
Gilo a répondu à un sujet de T@ygeta dans Discussions générales de L'astronomie vintage !
Bonsoir, Si ça peut t'aider, un extrait de l'excellent "à l'affut des étoiles" de Pierre Bourge qui liste des étoiles double de magnitude proche pour le test des instruments. -
Perl-Royal Jupiter 112/1600 + J-PZ
Gilo a répondu à un sujet de FLUO dans Discussions générales de L'astronomie vintage !
Bravo pour l'acquisition, ce n'est pas une lunette ordinaire! -
Bonsoir, merci pour vos réponses, je vais essayer de contacter la personne sur le forum en Allemagne. J'ai aussi envoyé une demande à Medas, ils ont peut-être gardé le document en archive. Sinon, j'ai essayé le Skysensor l'autre soir, ça fonctionne. Mais il faut vraiment choisir une étoile proche de la région qu'on veut observer, car le déplacement à 32x est lent. Pour le passage à l'an 2000, je ne pense pas que ce soit un soucis, puisqu'il n'y a pas les planètes dans la base de données. Je me trompe?
-
Bonjour, je viens de faire l'acquisition d'un Skysensor 3D (version + du Skysensor 3S, avec sauvegarde par pile, PEC et port RS232). J'ai récupéré le manuel, mais il me manque la Star Data Table, avec les étoiles de référence en mémoire pour la procédure d'alignement. Est-ce qu'un membre du club aurait ce document? Merci Gilles
-
Occaz vintage
Gilo a répondu à un sujet de bosgi dans Discussions générales de L'astronomie vintage !
Bonjour, je savais que le Perl JPM 115/900 avait été décliné dans une couleur rouge en plus de sa livrée de base blanche avec le liseré Perl, mais je savais pas qu'il avait été proposé aussi en vert. C'est la première fois que j'en vois un sur LBC: https://www.leboncoin.fr/ad/sport_plein_air/2683049673 -
Télescope Cassegrain Cave Astrola de 8 pouces
Gilo a répondu à un sujet de Manu Fonfon dans Restauration de matériels anciens de L'astronomie vintage !
Le risque lorsque on alimente un moteur électrique avec une tension trop importante par rapport à la tension nominale est de détériorer l'isolation électrique interne au niveau du stator. Surtout qu'avec les années, elle peut avoir vieilli et présenter des zones de faiblesse. Cela se traduira par un claquage de l'isolation (la fameuse odeur de brûlé électrique), et un court-circuit interne. A priori dans ton cas, rien ne s'est passé et tant mieux. -
Bonjour, Celestron utilise la queue d'aronde au format Vixen pour des C11, donc 14kg de charge utile, ça passe. Ce format a été conçu par Vixen à l'époque pour les montures Great Polaris et GPDX dont les charges utiles maxi sont respectivement de 7kg et de 10kg. Dans la pratique, c'est vrai qu'au delà de 10kg, c'est surtout l'installation sur la monture et le serrage des vis de blocage sur la queue d'aronde Vixen qui deviennent moins pratiques, et qui justifient de passer sur le format Losmandy.
-
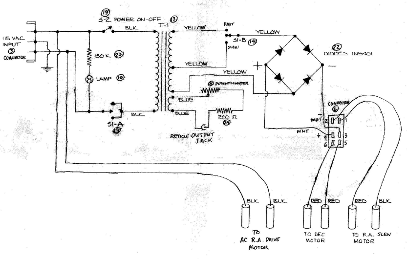
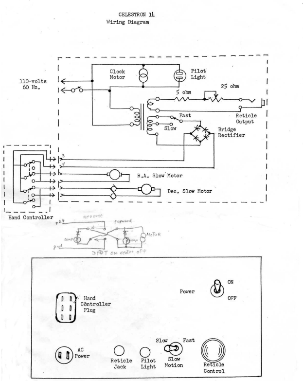
C8 - C14 Orange
Gilo a répondu à un sujet de frankastro dans Restauration de matériels anciens de L'astronomie vintage !
-
C8 - C14 Orange
Gilo a répondu à un sujet de frankastro dans Restauration de matériels anciens de L'astronomie vintage !
Salut, j'ai trouvé ça dans mes documents. Il y a des annotations, c'est à prendre juste comme une information. J'ai également le pdf du manuel Celestron de l'époque, si tu ne l'as pas déjà. -
Lunette Vixen Custom-80M
Gilo a répondu à un sujet de ptijo-51 dans Photos de vos antiquités ! de L'astronomie vintage !
Très belle lunette, bravo pour cette rénovation.! Je viens aussi d'acquérir un tube optique de Vixen 80/910 qui doit être aussi un peu rafraichi. -
Code RAL (ou autre) couleur verte Vixen ancienne
Gilo a répondu à un sujet de caelumstellatum dans Matériel général
Le soucis, c'est que c'est une peinture à effet martelé, donc elle n'entre pas dans les teintes standards. Ce n'est pas courant nous plus chez les revendeurs. La couleur la plus approchante que j'ai retrouvée pour peindre un support de chercheur pour une lunette Vixen, c'est chez le fabricant PECAMAX que je l'ai dénichée. La teinte n'est pas exactement celle d'origine, et la texture dépend également de l'application. -
Monture Celestron et télescope trouvés chez feu mon père.
Gilo a répondu à un sujet de GaoGao dans Matériel général
-
Monture Celestron et télescope trouvés chez feu mon père.
Gilo a répondu à un sujet de GaoGao dans Matériel général
Tu peux vérifier facilement si la monture suit bien le mouvement équatorial: elle devrait pivoter de 15° en 1h (avec la vis fléchée légèrement serrée pour embrayer l'entraînement) -
Lunette Galaxie 77/1000
Gilo a répondu à un sujet de j-christophe dans Photos de vos antiquités ! de L'astronomie vintage !
Le chercheur a l'air de bonne qualité également. Il ressemble beaucoup au chercheur dia40 des C11 et C14 orange -
Occaz vintage
Gilo a répondu à un sujet de bosgi dans Discussions générales de L'astronomie vintage !
Pour la lunette de Mulhouse, j'ai demandé au vendeur, c'est une Galaxie E-60, donc à priori une SYW AE 60/910. Elle vient avec des accessoires (monture?). Uniquement sur place.
