Aller au contenu

Fabrication d'une valise d'alimentation (powertank) de 55Ah


Messages recommandés

Posté

Bonjour a tous les astrams,

 

Je m'excuse à l'avance, je suis une quiche x10⁹⁹⁹ en français, alors soyez indulgent sur mes fautes. 😁

 

J'aimerais partager aujourd'hui avec vous un projet qui me trotte dans la tête depuis un moment. La fabrication d'une valise d'alimentation de type "powertank" de grande capacité. En effet après avoir eu deux Celestron de 17ah qui m'ont lâché en quelques années, j'ai cette année acheté le dernier powertank de Celestron encore une fois....mais voila, maintenant que j'utilise des résistances chauffantes il ne fait plus l'affaire. Il me servira toujours en été, mais pour l'instant j'ai besoin de plus puissant.

 

J'ai donc souhaité non plus acheter mais me fabriquer mon powertank, dans lequel je pourrais choisir mes éléments et les remplacer au besoin.

 

Après avoir planché sur la question, voici mon cahier des charges:

 

- Deux ports USB

- Deux prises type "allume-cigare" pour les résistances

- Trois prises jack 5.5x2.1 type monture Skywatcher

- Un indicateur de charge restante

- Un protection de surintensité par circuit

- Un protection thermique générale

- Une batterie "standard" toujours disponible dans 5 ans

- Un interrupteur général à fort pouvoir de coupure

- Un valise solide et la plus qualitative possible tout en restant compacte

 

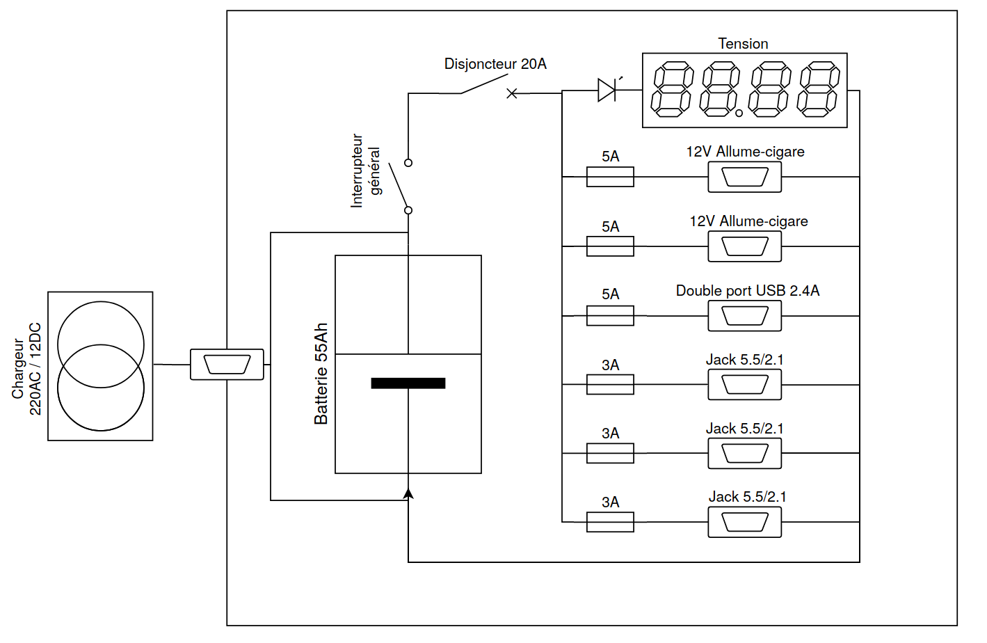
Après avoir établi mon CDC, j'ai réalisé le schéma de ce que je souhaite faire:

698583287_Capturedu2020-03-0623-46-53.thumb.png.1edb25e4f09e38716e7b767dd44acdde.png

 

J'ai abandonné deux choses dans mon CDC originel, l'intégration du chargeur à la valise par manque de place, et un régulateur de tension DC-DC 12V pour avoir une sortie calibrée propre. Aucun module à prix correct ne me permettait d’atteindre les ampérages voulus avec une tension 11-14V en entrée. Puis après analyse du circuit d'un powertank Celestron j'ai vu qu'il ne régulait pas non plus la sortie, donc j'ai fait comme eux.

 

Après avoir fini la partie "réflexion" viens le temps de la recherche des composants, voila la liste non exhaustive des éléments retenues:

 

- Valise B&W International 4000 pour 103.06€

- Batterie AGM 12V 55Ah pour 129.90€

- Voltmètre 12V pour 19.99€

- Prises 5,5 mm x 2,1 mm, lot de 12 pièces pour 9.55€

- Prise étanche Allume-Cigare lot de 2 pour 13.99€

- Prise USB deux slots pour 12.91€

- Répartiteur porte Fusible 12V pour 14.99€

- Chargeur de Batterie Intelligent 5A 6/12V pour 33.99€

- Interrupteur 12V à pouvoir de coupure de 100A pour 19.99€

- Velcro adhésif 2m autocollant pour 17€

- Disjoncteur thermique réarmable 20A pour 15.99€

 

A cela il faut ajouter du matériel déjà en ma possession à savoir:

- Plaque de plexiglass de 10 mm

- Plaque de plexiglass de 5mm

- Cosses diverses

- Repère pour câble

- Câble électrique

- Gaine organisatrice pour câble TV

- Matériel nécessaire à la soudure étain + nécessaire pour pistolet a colle + tous les outils qui vont bien 😁

 

Voila, tout cela nous amènes à un coût de 391.36€ pour un powertank de 55ah. Une valise Artesky de 48Ah coûte en moyenne 459€ comme ici chez pierro. La différence n'est pas énorme, mais au moins sur un modèle fait maison, chaque composant peut être changé. Et si dans 5 ans la batterie me lâche, il me suffira de la remplacer pour 128€.

 

Etape 2 - La fabrication

Pour une meilleure lisibilité je vais réduire la taille des photos dans le post, vous pouvez les avoir en taille complète en cliquant dessus.

 

Partie 1 - Installation des éléments supérieurs

 

La valise nue

01.thumb.jpg.a3ce9b57447d9394a21fa9df6ccba852.jpg

 

Simulation de la batterie, elle est costaud, tous les éléments devront être disposés sur la partie droite de la valise au détriment de l'esthétisme.

02.thumb.jpg.ac00f003850001a5937ebfd43584262b.jpg

 

Traçage et Perçage, première erreur, le forêt a glissé sur le troisième trou des jacks....tant pis 😭

03.thumb.jpg.e3cdc27e65b0b2457c974f78717f045b.jpg

 

On monte tous les éléments, serrage avec leurs bagues fournies et un peu de colle pour l'étanchéité et pour éviter les desserrages. (Vous allez voir que j'aime beaucoup la colle....😁)

04.thumb.jpg.2bfe03202dab61de0ceb49fa4737c7cf.jpg

 

Et voila c'est fini pour la première partie...

05.thumb.jpg.d6e2365ed3f9f99d2554b9dc4ce5e439.jpg

 et c'est seulement à ce moment que je contemple ma deuxième erreur..... Pourquoi j'ai mis quatre jacks!!!!!!!!!!!!! J'en avais prévu que trois sur le schéma et ma distribution est prévu pour six circuits, pas sept! 😔

Je pourrai faire un pontage mais je veux isoler chaque circuit. J'ai pensé à utiliser un fusible directement sur un fil positif, mais je n'ai pas besoin de 4 jacks. Le quatrième restera donc non câblé....pour la déco! 😁

 

 

Partie 2 - Fabrication de la platine

La platine aura deux fonctions, caler la batterie sur le plan horizontal et supporter les éléments de distribution et protection. Elle est faite en plexiglass de 10mm.

 

Découpe au dimension de la valise à la scie sauteuse, affinage et angle à la meuleuse avec un disque à poncer et découpe des douze formes nécessaires pour épouser la valise à la dremel

06.thumb.jpg.f00150d753dd738452007eec082bbe2c.jpg

 

Découpe à la scie sauteuse de l'emplacement de la batterie

07.thumb.jpg.4f1b4310e19281dafcfe557bf0dc360f.jpg

 

Fabrication des pieds a la scie sauteuse dans du plexi de 10mm et collage à la super glue

08.thumb.jpg.f499bfe8045e4ca585470289c23136a1.jpg

 

Perçage nécessaire a la fixation du distributeur porte fusible et du passage des câbles. Malgré un traçage/perçage dans les règles, les forets glissent souvent....du coup le résultat n'est pas hyper propre. Si c'était à refaire je pointerai avec une pointe chauffé.

09.thumb.jpg.6f295455fb23bc7646f0bc65bd236a66.jpg

 

Perçage du reste des passages de câbles, perçage pour l'encastrement du disjoncteur thermique et découpe plus collage de deux lames de plexiglass 5mm qui viendrons étrangler la batterie

10.thumb.jpg.77105270c42b29bc807bb5594234c89c.jpg

 

La platine est fini, un petit coup de peinture Epoxy pour la finition.

11.thumb.jpg.7c0e563011aac114c1c3229d5e598b92.jpg

 

 

 

Partie 3 - Préparation du porte-fusible

 

Chaque cosse est sertie à la pince et soudée à l'étain

12.thumb.jpg.1ed83dc5ae39f38057199f552513bd7f.jpg

 

Puis isolé à la gaine thermorétractable

13.thumb.jpg.0c294fbb8ea28783b1e45b3499f44744.jpg

 

Et enfin installée sur le porte fusible

14.thumb.jpg.81fb84a4733332a23d7cca4e865be9f9.jpg

 

Après serrage, les vis sont noyées dans la colle pour isoler et éviter le desserrage.

15.thumb.jpg.f84739e8d2ac108c43022da5c0832b39.jpg

 

 

 

Partie 4 - Installation des éléments inférieurs et passage des câbles

 

Mise en place du porte fusible et du disjoncteur thermique, serrage au dos de la platine et passage des câbles

16.thumb.jpg.c708583650e86e73348b9ef310c64abc.jpg

 

Et un petit coup de colle pour isoler

17.thumb.jpg.1b2cb55f4ce08e14233e434eea7c0a5d.jpg

 

Dépose de velcro adhésif sur les pieds. Je suis très satisfait de ce velcro, l'autocollant est extrêmement puissant, il est vraiment difficile de le décoller.

17_a.thumb.jpg.412a0e62882b4d367f3209122c46af35.jpg

 

La platine est prête. Je vais essayer de décrire ici les éléments:

- En haut à gauche, tous les câbles qui partiront alimenter les éléments supérieurs conditionnés dans une gaine de "câble management TV"

- En haut à droite, le connecteur rapide pour le chargeur de batterie

- En dessous au centre, le disjoncteur thermique réarmable de 20A, ici en position "ouvert"

- En dessous, le distributeur porte fusible, les prises "allume-cigare" et USB possèdent des fusibles 5A, les prises jacks des 3A

- Au centre de l'image avec des cosses rondes, les connecteurs pour la batterie. Un couple +/- pour le circuit principal, le deuxième couple +/- pour le circuit de charge

18.thumb.jpg.79af53e724d536dcc6d8f643a6dd2f35.jpg

 

 

 

Partie 5 - Installation de la platine et de la batterie dans la valise

 

Le fond de la valise est recouvert de velcro, puis la platine est accrochée dessus

19.thumb.jpg.ae116ab64f5645c4170137ea2925eaf6.jpg

 

Une ceinture de colle est posée pour solidifier l'ensemble

20.thumb.jpg.00d764ff4022f02e72e03c7fdc14d172.jpg

 

La batterie est à son tour couverte de velcro

21.thumb.jpg.74e6d97287e210e19c281787afc730d2.jpg

 

Puis posée dans son logement

22.thumb.jpg.69a8c0408d5335be2deb95ddfa5bed27.jpg

 

La partie basse est terminée

23.thumb.jpg.806eb5d5b0325ff5ea0d24c0226be9d7.jpg

 

 

 

Partie 6 - Préparation du chemin de cable

Le chemin de câble doit être propre, il ne doit pas se coincer à l'ouverture de la valise. Il faut donc un point d'ancrage solide en partie supérieure.

 

Pour réaliser un ancrage solide un perçage de 4mm est réalisé en partie sup, puis un fraisage est fait à la main avec un foret de 8mm afin de masquer la vis sous l'étiquette

IMG_20200310_220917.thumb.jpg.eaf2219c82faaa4a0d8905d45c5fa353.jpg

 

La vis en place

IMG_20200310_221420.thumb.jpg.47fd4348dd84c0f3ec44560f4f7f0da9.jpg

 

Le support de collier de l'autre côté

IMG_20200310_221409.thumb.jpg.bc14e605319457d71fed0eb97269ae8e.jpg

 

Ni vu ni connu

IMG_20200310_221431.thumb.jpg.ddc1646fdb2fd6ba03d8044a1d961617.jpg

 

Et enfin on accroche le chemin de câble. La fermeture de la valise se passe parfaitement bien

IMG_20200310_221546.thumb.jpg.bfa476e8f73626ed2ebc9973ff11a2be.jpg

 

 

 

Partie 7 - Câblage des éléments supérieurs

 

Câblage de l'interrupteur et du voltmètre. L'interrupteur est câblé dans du câble de plus grosse section (circuit principal) à l'aide de cosse ronde M6 avec la même technique sertissage/soudure/gaine thermorétractable.

Le voltmètre utilise des cosses plates standards mâle/femelle

24.thumb.jpg.68513d3c543b92c0d41a317f3d778174.jpg

 

A ce stade la batterie peut être câblée et ses cosses isolés. De même pour le porte fusible

25.thumb.jpg.0672b47f76f272aca35aa1f68ec753ba.jpg

 

Câblage des USB

26.thumb.jpg.c34a1408f948faf33afee3b1e11cf6e2.jpg

 

Et impatience oblige, première mise en route. Tous les fusibles sont retirés à part celui des USB

Le voltmètre s'allume et indique 13V, les ports USB aussi s'allument. Tout à l'air ok.

27.thumb.jpg.e8f0641da0bf84c232984cb8244a77eb.jpg

 

Câblage ensuite des deux prises "allume-cigare" avec des cosses plates

28.thumb.jpg.cca87d6b99374416c006527e7935053b.jpg

 

Et test des deux prises avec mon module de commande des résistances. Tout est ok

29.thumb.jpg.e33407a6795dff26a628adef296085b1.jpg

 

Câblage des trois prises jack, pour elles les câbles sont directement soudés

30.thumb.jpg.b2db901fc12ef122167bf15773dd93cf.jpg

 

Puis ensuite noyés dans la colle

31.thumb.jpg.a3a0516ad54cb9864b92bd3763efe5ce.jpg

 

Voila, l'intérieur est terminé

32.thumb.jpg.1505480f752b810d841c5bcb64221dbf.jpg

 

 

 

Partie 8 - Test réel et première charge

 

Le temps est venu de tester sur le télescope, j’amène la valise au salon et la...je prends conscience du poids! Elle affiche 20kg sur la balance, c'est lourd. Mais tout reste bien en place, je la secoue, aucun bruit.

Bref, on branche

33.thumb.jpg.41cbebd182dee277def824cd66529eee.jpg

 

Tout prend vie, la monture, le module de commande des résistances, et.... la cigarette électronique....ben quoi?😄

34.thumb.jpg.557f4d70d07f554d6079271963f43029.jpg

 

Test validé, on passe à la première charge. On ouvre la valise et on branche le chargeur au connecteur rapide. Le disjoncteur est ouvert, seul le circuit de charge est clôt.

35.thumb.jpg.86b0101faaac05d4da58707240fd90e0.jpg

 

La batterie est immédiatement reconnue par le chargeur, celui-ci démarre, on entend son ventilateur.

36.thumb.jpg.c860988da93a01772955dbeaa195ca53.jpg

 

L'opération se passe sous le contrôle du seigneur Vador

37.thumb.jpg.84aeb5639c7d47c096ff3c7df5ccc5c6.jpg

 

 

Et après environ 1h le chargeur s’arrête et indique la charge complète. Tout fonctionne correctement, c'est exactement ce que je voulais. Je suis heureux d'avoir mené mon projet à bien malgré quelques erreurs et en même temps un peu déçu que se soit fini car je me suis amusé à le faire.

Voila j'espère que la création de ce prototype vous a plu.

 

Reste plus qu'a ranger le garage.....😩

 

38.thumb.jpg.94e669bfd2b80fe04df0a8f95b285b36.jpg

 

  • J'aime 3
  • Merci / Quelle qualité! 6
Posté (modifié)

Beau projet et belle réalisation.👍

Une petite question: pourquoi être parti sur des connecteurs allume-cigare et jacks?

 

Mon expérience a démontré que ces connecteurs ont une forte résistance de contact ce qui fait que l'on perd vite de la tension et au final l'autonomie réelle du setup s'en ressent notamment quand il fait froid. C'est la monture qui s'arrête en premier.

Pour ma part, j'ai tout remplacé par des connecteurs aviation de type GX12. Ils sont également verrouillable ce qui est un sacré avantage.

Certes, ça oblige à remplacer les connecteurs au bout des câbles mais je ne l'ai jamais regretté

image.png.5b08cf0f631bd1cde94b859458d8f519.png

PS: pour quelqu'un qui s'estime être une quiche en français, tu te débrouilles très bien😀

Modifié par morbli
  • J'aime 1
Posté

Joli boulot Alinthda. 

 

Juste 1 petites question Pourquoi autant de colle? Si un jour tu dois accéder au dessous de la plaque ou aux borniers pour maintenance ca risque d'être galère non? 

Sinon c'est superbe. La câblage est très propre. 

 

Petite suggestion: faire un support pour la vapette sinon risque de fuite sur l'ato. :be:

 

 

 

Posté
il y a 4 minutes, morbli a dit :

j'ai tout remplacé par des connecteurs aviation de type GX12

 

Ces connecteurs sont effectivement très fiable, mais perso pour un projet de ce type mois j'utiliserais des connecteurs différents pour chaque fonction ou tension. Ca évite de brancher une appareil en 5V directement sur une prise 12V et les (mauvaises) surprises qui vont avec...

Posté
à l’instant, Anthony59 a dit :

 

Ces connecteurs sont effectivement très fiable, mais perso pour un projet de ce type mois j'utiliserais des connecteurs différents pour chaque fonction ou tension. Ca évite de brancher une appareil en 5V directement sur une prise 12V et les (mauvaises) surprises qui vont avec...

évidemment, tu as raison. Chez moi, je n'ai que du 12V. Pour le 5 V, la prise USB est très bien.

Posté
il y a 26 minutes, Papalima a dit :

Dommage que ce soit si lourd...

C'est bien l'inconvénient principal des batteries. A moins d'utiliser des batteries au lithium qui sont plus légère... Mais pour 55Ah c'est quasi 600€ la batterie.

Posté (modifié)

C'est plus du bricolage là c'est de l'artisanat :1010:

 

Pour les prises j'ai pensé aussi faire plusieurs sorties directement sur la mallette mais avec en tout 6 câbles d'alimentation ça commence à en faire du bordel qui descend du setup. Des fils se croisent, faut bien organiser ça à chaque installation...etc

Du coup j'ai pensé différemment avec ça ...

C'est le seul modèle que j'ai trouvé pour lequel on peut choisir les diamètres des câbles...

 

Je pense faire juste deux câbles qui iront à la mallette, et tout le bordel sera fixé, ficelé, sur la lunette. Pour l'installation je n'aurai qu'à brancher mes deux jacks sur deux de ces "multijacks"

C'est certain qu'en cas de cours circuit je n'aurai qu'un fusible pour 3 connections.

 

Pour la batterie de type AGM c'est un bon choix mais il vaut mieux ne pas la vider complètement si on veux la faire durer.

Modifié par Daube-sonne
Posté (modifié)
il y a 11 minutes, Anthony59 a dit :

C'est bien l'inconvénient principal des batteries. A moins d'utiliser des batteries au lithium qui sont plus légère... Mais pour 55Ah c'est quasi 600€ la batterie.

 

En faisant le montage préconisé ici tu peux avoir (avec deux batteries 36V) ~56Ah sous 12V stable pour 120€ (+le matériel électronique donc à la louche une facture de 150€).

Le poids sera dans ce cas autour de 4Kg pour l'ensemble des deux batteries.

 

Bémol !!!  Difficile de ne pas se faire avoir par les annonces de capacité sur ces produits. Par chance j'en ai trouve un fiable... Laudation

Modifié par Daube-sonne
Posté

elle est superbe ! magnifique réalisation très inspirante...

merci du partage

(et +1 pour l'option Li-ion 🙂 )

Gilles.

Posté
Il y a 3 heures, morbli a dit :

Beau projet et belle réalisation.👍

Une petite question: pourquoi être parti sur des connecteurs allume-cigare et jacks?

 

Mon expérience a démontré que ces connecteurs ont une forte résistance de contact ce qui fait que l'on perd vite de la tension et au final l'autonomie réelle du setup s'en ressent notamment quand il fait froid. C'est la monture qui s'arrête en premier.

Pour ma part, j'ai tout remplacé par des connecteurs aviation de type GX12. Ils sont également verrouillable ce qui est un sacré avantage.

Certes, ça oblige à remplacer les connecteurs au bout des câbles mais je ne l'ai jamais regretté

Comme tu le dis très bien c'est par feignantise de modifier mes câbles, mais effectivement j'ai envisagé un temps cette solution. J'ai mesuré la résistivité à l’ohmmètre avec une fiche mâle jack et elle est totalement négligeable. Donc je ne pense pas avoir de perte part effet joule de ce côté la.

Les pertes habituelles des connecteurs rapides viennent souvent du sertissage des cosses ou du couple mâle/femelle, le fait de les avoir soudés améliorent le contact. Je vais cependant passer la valise en charge à la caméra thermique du boulot pour voir s'il existe des pertes.

 

Il y a 3 heures, Anthony59 a dit :

Juste 1 petites question Pourquoi autant de colle? Si un jour tu dois accéder au dessous de la plaque ou aux borniers pour maintenance ca risque d'être galère non? 

L'avantage de la colle pour l'électronique c'est son compromis entre puissance de prise et facilité de retrait. J'ai d'ailleurs refait entièrement le bornier une première fois car j'avais mis trop de gaine thermo, le câble était trop rigide, et j'ai retiré la colle sans difficulté.

 

Il y a 3 heures, Papalima a dit :

Dommage que ce soit si lourd...

Oui c'est lourd, mais avec la poignée de la valise la prise est bonne, ce n'est pas plus contraignant que les contrepoids de la monture.

 

Il y a 3 heures, Daube-sonne a dit :

Je pense faire juste deux câbles qui iront à la mallette, et tout le bordel sera fixé, ficelé, sur la lunette. Pour l'installation je n'aurai qu'à brancher mes deux jacks sur deux de ces "multijacks"

C'est certain qu'en cas de cours circuit je n'aurai qu'un fusible pour 3 connections.

 

Pour la batterie de type AGM c'est un bon choix mais il vaut mieux ne pas la vider complètement si on veux la faire durer.

J'ai réfléchi au début à un montage en dérivation, mais cela ne me plaît pas même si c'est plus que courant aujourd'hui. Je suis un peu à "l'ancienne", un circuit par prise, je préfère. Mais ta solution fonctionnera.

La batterie est donnée pour 600 cycles de charge, je vais essayer de les "optimiser" en ne pas la rechargent trop souvent, surtout pour les observations dans le jardin. Je la chargerai pour les sorties en montagne.

 

Il y a 3 heures, Daube-sonne a dit :

En faisant le montage préconisé ici tu peux avoir (avec deux batteries 36V) ~56Ah sous 12V stable pour 120€ (+le matériel électronique donc à la louche une facture de 150€).

Le poids sera dans ce cas autour de 4Kg pour l'ensemble des deux batteries.

 

Bémol !!!  Difficile de ne pas se faire avoir par les annonces de capacité sur ces produits. Par chance j'en ai trouve un fiable... Laudation

J'ai envisagé d'utiliser ion/lipo/accu a soudé nim etc etc, mais l'idée d'avoir un transfo ne me plaisait pas. Au delà du problème de température provoqué par l'effet joule dans les forts ampérages c'est surtout la perte qui est colossale dans un transfo. Malheureusement c'est inhérent au processus et les chiffres des fabricants sont....."améliorés" par des conditions optimales. Il suffit de ce rendre compte de la chaleur que dégage un transfo pour voir qu'une partie non négligeable de l'électricité part en chaleur

Posté

Salut

 

Pour ce qui concerne les prises allume- cigare, depuis que j'ai remplacé cette dernière sur mon Orion Atlas par une speakon, la led de la monture ne clignote plus ( signe de mauvaise alim ) en vitesse rapide

Superbe boulot pour cette valise

Posté

Belle réalisation , à mon sens c est un peu cher l ampère , 55 c est court selon le setup et le froid . Pour 129 euros tu trouves près du double en gel . 

Posté (modifié)
il y a 34 minutes, alinthda a dit :

J'ai envisagé d'utiliser ion/lipo/accu a soudé nim etc etc, mais l'idée d'avoir un transfo ne me plaisait pas. Au delà du problème de température provoqué par l'effet joule dans les forts ampérages c'est surtout la perte qui est colossale dans un transfo. Malheureusement c'est inhérent au processus et les chiffres des fabricants sont....."améliorés" par des conditions optimales. Il suffit de ce rendre compte de la chaleur que dégage un transfo pour voir qu'une partie non négligeable de l'électricité part en chaleur

C'est vrai qu'on perd au moins 10%. C'est ce que j'ai pu voir en testant mes batteries ; 340wh si mesuré après le convertisseur contre 380wh si on mesure avant le convertisseur.

 

Ça a l'avantage quand même de stabiliser la tension, même si ce n'est pas trop utile avec notre matos. Certaines montures sont un peu sensibles, à surveiller mais surtout quand ça descend sous les 12v.

il y a 34 minutes, alinthda a dit :

La batterie est donnée pour 600 cycles de charge, je vais essayer de les "optimiser" en ne pas la rechargent trop souvent, surtout pour les observations dans le jardin. Je la chargerai pour les sorties en montagne.

Attention renseigne toi bien pour les agm. Ce que j'ai compris c'est qu'on a droit à 50%. Au-delà on l'use prématurément ; sauf que pour notre utilisation ce n'est pas très grave si elle tient 300 cycles au lieu de 600 ; on ne peut pas faire autant de sortie que ça en 10ans d'astro !!!

 

Pour le stockage, je ne sais si y a une charge optimale comme pour le lithium (~60%), mais je sais qu'il faut les maintenir chargées.

D'ailleurs une utilité des chargeurs "intelligents" est de pouvoir les laisser branchés en permanence sur la batterie pour la maintenir à 100%.

 

Amicalement, Vincent

Modifié par Daube-sonne
Posté (modifié)
il y a 6 minutes, archange34 a dit :

Belle réalisation , à mon sens c est un peu cher l ampère , 55 c est court selon le setup et le froid . Pour 129 euros tu trouves près du double en gel . 

Non ?

C'est plus cher les batteries gel.

Il y a une Ultracell 55ah pour 130€ mais bon ça se tient. Puis après le poids...

Modifié par Daube-sonne
Posté
il y a 6 minutes, Daube-sonne a dit :

Non ?

C'est plus cher les batteries gel.

Il y a une Ultracell 55ah pour 130€ mais bon ça se tient. Puis après le poids...

 

je vous remets là mon petit tableau qui n'engage que moi mais qui permet de se fixer les idées

(la capa mesurée sur GEL/AGM est bidon, donc les résultats sont certainement sous évalués)

image.thumb.png.86b6f3ecfca368d3d28eb1b10a364295.png

Posté
il y a 25 minutes, jeap a dit :

Pour ce qui concerne les prises allume- cigare, depuis que j'ai remplacé cette dernière sur mon Orion Atlas par une speakon, la led de la monture ne clignote plus ( signe de mauvaise alim ) en vitesse rapide

Superbe boulot pour cette valise

J'en mettrais au prochain prototype 😁

 

il y a 24 minutes, archange34 a dit :

Belle réalisation , à mon sens c est un peu cher l ampère , 55 c est court selon le setup et le froid . Pour 129 euros tu trouves près du double en gel . 

Pour mon setup (c11 sur eq6 + resistance) je passe la nuit. Peux-tu m'en dire plus sur cette batterie 110Ah à 129 euro?

 

il y a 23 minutes, Daube-sonne a dit :

C'est vrai qu'on perd au moins 10%. C'est ce que j'ai pu voir en testant mes batteries ; 340wh si mesuré après le convertisseur contre 380wh si on mesure avant le convertisseur.

Ça a l'avantage quand même de stabiliser la tension, même si ce n'est pas trop utile avec notre matos. Certaines montures sont un peu sensibles, à surveiller mais surtout quand ça descend sous les 12v.

100% d'accord, comme souvent en électronique la sous tension est bien pire que la surtension convertie en chaleur la plupart du temps.

 

il y a 24 minutes, Daube-sonne a dit :

Attention renseigne toi bien pour les agm. Ce que j'ai compris c'est qu'on a droit à 50%. Au-delà on l'use prématurément ; sauf que pour notre utilisation ce n'est pas très grave si elle tient 300 cycles au lieu de 600 ; on ne peut pas faire autant de sortie que ça en 10ans d'astro !!!

On va dire qu'a un moment il fallait faire un choix. J'ai cherché une batterie compacte avec une capacité de plus de 40ah. Après quelques nuits de recherche ce modèle m'a paru le mieux. Après honnêtement si elle me tiens même 200 nuits, a mon rythme, cela me laisse plusieurs années d'avances

 

il y a 16 minutes, gehelem a dit :

je vous remets là mon petit tableau qui n'engage que moi mais qui permet de se fixer les idées

(la capa mesurée sur GEL/AGM est bidon, donc les résultats sont certainement sous évalués)

Tu as certainement raison, mais ce type de batterie pèse 10kg de plus et n'est plus vraiment compact n'y portable. Elle ne rentre pas dans mon CDC d'origine.

Posté
il y a 2 minutes, alinthda a dit :

Tu as certainement raison, mais ce type de batterie pèse 10kg de plus et n'est plus vraiment compact n'y portable. Elle ne rentre pas dans mon CDC d'origine

Euh... ce petit tableau permet aussi de comparer avec les li-ion : certes 2x plus cher que les GEL mais 4x plus légères (à capacité équivalente bien entendu...)

 

 

Posté
il y a 40 minutes, gehelem a dit :

Euh... ce petit tableau permet aussi de comparer avec les li-ion : certes 2x plus cher que les GEL mais 4x plus légères (à capacité équivalente bien entendu...)

Tu as totalement raison. Cependant les Lithium comme celle de ton tableau me pose plusieurs problèmes. Déjà la transformation en 12v pour celle citée qui entraîne une perte par effet joule, mais ça peut importe à la limite. Ce qui me dérange c'est que ce type de pack est composé d'accu 18650 très utilisé dans l'industrie, le plus connu étant le sony VTC6. Je connais très bien ces accus, j'en utilise tous les jours. Même si on indique souvent leur courant de décharge comme étant de 30A c'est totalement faux, sony préconise 15 grand max en continue et 30 en pulse.

De plus ce type d'accu n'est pas prévu pour être en environnement clos, sauf s'ils sont de technologie IMR, ils ont besoin d'un volume d'air entrant pour le "dégazage" en cas de réaction chimique violente. (demandé aux vapoteurs ce qui se passe quand l'accu ne peut pas dégazer 😁

Enfin, même si les constructeurs sont les premiers à le faire, en électronique pure on ne charge pas ce type d'accu sur un seul circuit de charge, il en faut deux, un général, et un par cellule appelé circuit d’équilibrage. On est d'accord que cette règle n'est jamais respecté (hormis pour les lipos 2/4/6s des drones bizarrement). Sans circuit d'équilibrage la durée de vie est drastiquement réduire, il suffit de voir les empilages de 18650 des vélos/trotinettes qui sont bon à jeter en un an.

Bref tout ceci n'est que mon avis sur la question et n'engage que moi.

 

Posté
il y a 7 minutes, alinthda a dit :

Sans circuit d'équilibrage la durée de vie est drastiquement réduire

C'est très intéressant, merci

Est ce que tu parles des BMS ?

 

En ce qui concerne la perte, mon tableau en tient compte sur la première ligne : les chiffres sont issus de mes propres mesures, en conditions aussi proches que possible de mon usage (débit 12v sur une charge de 50w)

 

En ce qui concerne les intensités max : penses-tu que nous soyons concernés dans notre pratique ? 

Moi c'est rarrisime que je dépasse 10 ampères  (12v), même en pic

 

 

 

Posté
il y a 55 minutes, gehelem a dit :

C'est très intéressant, merci

Est ce que tu parles des BMS ?

 

En ce qui concerne la perte, mon tableau en tient compte sur la première ligne : les chiffres sont issus de mes propres mesures, en conditions aussi proches que possible de mon usage (débit 12v sur une charge de 50w)

 

En ce qui concerne les intensités max : penses-tu que nous soyons concernés dans notre pratique ? 

Moi c'est rarrisime que je dépasse 10 ampères  (12v), même en pic

 

BMS est un peu générique comme terme, on nomme ainsi tous les contrôleurs de charge, mais oui c'est bien le contrôleur de charge qui va remonter les piles au nominal sur le circuit principal et utiliser le câblage secondaire pour l'équilibrage.

En théorie, je dis bien en théorie car tu peux me renvoyer dans les cordes facilement vu que plus personne ne le fait, un circuit multi cellule devrait être fichu comme ça:

index.png.ca5e8e8cf5930b79b32b6ecc0ed092de.png

La charge générale se fait part les fiches de sortie (out), oui généralement c'est le même connecteur qui charge et décharge, mais pas toujours. puis quand la tension est au nominal le contrôleur de charge équilibre les autres avec les couples 4/1, 3/1 et 2/1 etc etc selon le nombre de cellule.

 

Après c'est comme ça que j'ai appris l'électronique il y a 15ans, peut être j'ai tout faux aujourd’hui, les technologies ont sans doute évoluées. Ce que je dis n'a aucune valeur de règle que l'on soit d'accord. j'ai peux être besoin d'une grosse mise à jour😂

De manière générale s'il n'y a que les câbles rouge/noir sur un empilage commercial il n'y aura pas de contrôle de charge efficace. Si l'empilage comporte un autre câble ou sont regroupés les pôles positifs de chaque cellule, alors il y aura un équilibrage via un BMS.

 

Pack sans équilibrage:

22-2V-Battery-Pack-18650-Li-ion.jpg_350x350.jpg.522f6d8e4bfb3a368476b5f0c6a12375.jpg

Pack avec équilibrage:

1.jpg.20c21c729873aaae802be86f3b29a3b7.jpg

 

Concernant la perte dans ton tableau et l'intensité max de notre pratique tu as absolument raison, je suis 100% d'accord avec toi

Posté
il y a 20 minutes, alinthda a dit :

Après c'est comme ça que j'ai appris l'électronique il y a 15ans, peut être j'ai tout faux aujourd’hui, les technologies ont sans doute évoluées.

Ouai bah non justement

Et heureusement parce que tu m'as fichu la trouille avec tes histoires 😂

Les packs li-ion qu'on a tous plus ou moins acheté par ici sont constitués de ce type de circuit de regul (et de protection), comme sur ta seconde photo, câblé tout pareil sur chaque cellule

 

Autre avantage qu'on a trouvé sur les 18650 : la récup! 

J'en ai des wagons issues de laptops que je compte bien trier et réassembler

(Mais travail de fou...)

 

Posté
il y a 12 minutes, gehelem a dit :

Et heureusement parce que tu m'as fichu la trouille avec tes histoires 😂

Les packs li-ion qu'on a tous plus ou moins acheté par ici sont constitués de ce type de circuit de regul (et de protection), comme sur ta seconde photo, câblé tout pareil sur chaque cellule

Ok mdr, dans ce cas j'ai blablaté pour rien.

 

il y a 13 minutes, gehelem a dit :

Autre avantage qu'on a trouvé sur les 18650 : la récup! 

J'en ai des wagons issues de laptops que je compte bien trier et réassembler

(Mais travail de fou...)

Oui c'est vrai qu'il y en a partout en électronique. Mais quitte à assembler ce type d'accu j'ai une préférence pour les nouveaux 21700 plus capacitif.

 

On verra pour la prochaine valise 😁

Posté
Il y a 1 heure, alinthda a dit :

ils ont besoin d'un volume d'air entrant pour le "dégazage" en cas de réaction chimique violente.

 

euhhh moi c'est sur ce truc la que j'ai tiqué 😅

faut s'inquieter quel niveau sur une echelle de 1 a 10 ?

 

10 étant risque d'incendie entrainant un divorce pour motif "tu vois j'te l'avais dit de faire attention avec tous tes bricolages que tu te prends pour geotrouvetou, maintenant on a plus de garage"

 

Posté

-edit- je n'aime pas ma réponse, je me perds moi même, je recommence: 😁

 

Un accu en court-circuit ou soumis a une trop grande décharge risque de produire des gaz car sa chimie interne va devenir instable.

 

Un accu IRC au cobalt va produire énormément de gaz et des liquides inflammables qui vont sortir de enveloppe et risque de prendre feu ou d'explosé si la concentration de gaz est trop forte. On ne les enferme pas

 

Un accu IMR au manganèse ne produira pas de liquide les réactions internes vont avoir tendance à faire une pâte moins liquide, l'accu va gonfler sans se percer. Cependant il produira quand même des gaz. Mais généralement leur chimie est très stable, ceux la on les enferme (batterie pc etc etc)

 

Le danger du dégazage dans une valise étanche est que a la moindre étincelle....boum. En théorie beaucoup d'appareil qui utilisent ces batteries ont des trous de dégazage histoire d’évacuer les gaz

Ils existent beaucoup d'autres technologies d'accu que les deux cités

 

Donc a courant de décharge correct et protection pour les court-circuits le risque de divorce est inexistant. En cas de montage douteux un IMR devrait te permettre de sauver ton mariage, un IRC c'est moins sur.

 

Les batteries plombs aussi ne devrait pas être enfermé car elle produise de l'hydrogène pendant la recharge. Mais valise ouverte le risque est minime

 

Une vidéo d'un accu qui produit liquide et gaz et qui explose:

 

Une vidéo d'un accu sony qui dégaze en conservant son enveloppe.

 

Posté

Bon pour fignoler un peu la valise, la batterie est pour l'instant prisonnière horizontalement par la platine et maintenue au bas par le velcro. Bien que cela tienne très bien j'ai envi d'ajouter des cales pour verrouiller l'axe vertical.

 

Prise de mesure avec une méthode peu conventionnelle (merci a la gosse pour la pâte a modeler)

IMG_20200311_140429.thumb.jpg.bbe1a0b54b5ea4c0e13759dd7b14ca57.jpg

IMG_20200311_140444.thumb.jpg.429e5b8688bded12fcbd87227228c9b9.jpg

 

Découpe des cales dans du plexi 10mm, peinture puis collage feutrine

IMG_20200311_152227.thumb.jpg.dfa57368d8a4d8cb7fd1546b7398b0b1.jpg

 

Et un peu de super glue pour fixer à la valise

IMG_20200311_162418.thumb.jpg.8288ff4e289d2d145d6282e328e76b4c.jpg

 

Voila la batterie est vraiment prisonnière dans tous les axes

Posté

Tiens d'ailleurs c'est marrant en parlant de dégazage, je viens de lire la fiche technique de ma batterie:

 

Soupapes
Chaque élément batterie est équipé d'une soupape pour
permettre aux gaz de s'échapper tout en assurant
l'étanchéité.
Dégazage
Les batteries VRLA produisent de l'hydrogène qui ,mélangé
avec de l'air peut devenir explosif. Ne pas installer les
batteries dans un espace étanche.

Posté

Un autre info sympa prise sur la fiche technique:

 

Durée de vie cyclique
100% de PDD (profondeur de décharge) à 80% de capacité - 300

75% de PDD (profondeur de décharge) à 80% de capacité - 500

50% de PDD (profondeur de décharge) à 80% de capacité - 600

25% de PDD (profondeur de décharge) à 80% de capacité -1400

 

Donc d'après le fabricant on peut descendre à un SOC de 20% et conserver 300 cycles. Bien sur je ne le tenterai pas, pour une vingtaine de sortie annuelle je pense pouvoir la mettre en charge à chaque fois

Posté

Bonjour,

je ne trouve pas dans ta nomenclature les régulateurs 12/5v pour les prises USB.

tu as mis quoi?

Paul

 

Posté (modifié)

Ça va dépendre de ton setup mais si tu dois avoir un pc et une cam refroidie c est mort avec une 55ha. 
j ai une ultima marine en 55 et avec une az6 un pc ultralight en conso une asi 1600 refroidie et résistance il faut le double pour être tranquille . Les batteries prennent chers avec le froid , tu peux perdre 40 % sans soucis . 
tu images avec un APN ou c est juste du visuel ? 
Si visuel pour ma part j ai acheté une batterie qui fait 50 mha en 3,7 v ça tient 5 ou 6 heures et cela tient dans la main . Tu peux en avoir une seconde pour la résistance plus petite . 

Modifié par archange34

Rejoignez la conversation !

Vous pouvez répondre maintenant et vous inscrire plus tard. Si vous avez un compte, connectez-vous pour poster avec votre compte.

Invité
Répondre à ce sujet…

×   Collé en tant que texte enrichi.   Coller en tant que texte brut à la place

  Seulement 75 émoticônes maximum sont autorisées.

×   Votre lien a été automatiquement intégré.   Afficher plutôt comme un lien

×   Votre contenu précédent a été rétabli.   Vider l’éditeur

×   Vous ne pouvez pas directement coller des images. Envoyez-les depuis votre ordinateur ou insérez-les depuis une URL.

  • En ligne récemment   0 membre est en ligne

    • Aucun utilisateur enregistré regarde cette page.
×
×
  • Créer...

Information importante

Nous avons placé des cookies sur votre appareil pour aider à améliorer ce site. Vous pouvez choisir d’ajuster vos paramètres de cookie, sinon nous supposerons que vous êtes d’accord pour continuer.