Aller au contenu

Messages recommandés

Posté (modifié)
il y a 30 minutes, Algenib a dit :

Alors, qu'est-ce qui fait cet engouement pour les achromats, après la période sct, puis apo, puis dobson?

une nouvelle mode?

Ben c'est le sujet ... du sujet et le prix : est-ce que ça vaut le coup.

Modifié par lyl
Posté
il y a 55 minutes, Algenib a dit :

Alors, qu'est-ce qui fait cet engouement pour les achromats, après la période sct, puis apo, puis dobson?

une nouvelle mode?

oh mince, je ne suis pas du tout, du tout, à la mode 😂

Posté
il y a une heure, Algenib a dit :

Alors, qu'est-ce qui fait cet engouement pour les achromats, après la période sct, puis apo, puis dobson?

 

Je ne suis pas sûr qu'il y ait un engouement phénoménal, mais on se rend compte que cette formule n'a pas que des inconvénients.

Sauf que l'on apprend qu'il y aurait des achromats non-achromatiques. Comprend qui peut...

Posté (modifié)
il y a 58 minutes, adamckiewicz a dit :

y a bien des apo qui le sont pas :D 

Yep, les fluorites Takahashi sont des apochromates (au sens Abbe) pas apochromatiques (au sens TMB moderne)

Une chatte retrouverait pas ses ptis.

Bref, qui a une lunette de plus de 150mm qui vaille le coup en planétaire par rapport aux engins modernes ? (et svp on en reste aux réfracteurs)

Et qui donne envie de s'en servir...

Pour mémoire : les spots de la Tak FS102-820 et le premier triplet de Roland Christen 150f10 (Sky & Telescopes)

Aucune des deux n'est apo au sens Thomas Back pourtant, on se les a arraché. (Le carré est toujours celui relatif à f15 / 50um)

image.png.bc909e1ad43148a988bf5c453d2ced5f.pngimage.png.d9350dc8b74a435c2403ab557e006cd2.png

Zeiss AS 150f15

image.png.08c741905d7c4f3c73c4e9ff0854e4f4.png

Bref, la plage au-delà de achro (F 486nm) à violet (435nm) on cherchait juste à le contrôler en visuel, pas vraiment à la focaliser.

Je veux pas exagérer mais quand tu regardes Zeiss avec l'asphérisation, ça fait genre pas un cheveu qui dépasse sur le papier.

C'est beau en vrai mais ça m'étonnerait que ça soit aussi rigoureux que ça.

Modifié par lyl
  • J'aime 2
Posté
il y a une heure, lyl a dit :
Il y a 1 heure, Algenib a dit :

Alors, qu'est-ce qui fait cet engouement pour les achromats, après la période sct, puis apo, puis dobson?

une nouvelle mode?

Ben c'est le sujet ... du sujet et le prix : est-ce que ça vaut le coup.

Il faut parler de la nouvelle vague de l'ancien monde pour une réponse, curieux.

Sur le prix, il y a des optiques toutes faites dans ce foutu commerce, encore, notamment celles citées plus haut l'intane F12 et l'istar F9,

qui valent ce qu'elles valent, surement pas peanuts, abordables en prix et pas du synta qui pue, l'achro de 150 (en passant ils ont bien relevé le niveau récemment notamment chez celestron).

Question à nouveau en prenant le modèle 200mm classique que concèdent ces 2 là en niveau de qualité par rapport à cette clavé 200 F15 qui semble être le top dans sa catégorie.

En réalisant par l'usage des tube sur 150mm, F6.6, 8, 10, 15, cassegrain, newton, à part l'esthétique des images et la sensibilité au seeing accru avec F6.6, je n'ai pas vu de différence pour l'accès aux petits détails, le même similaire en fait.

Qu'en est-il sur ces 200mm?

Pour l'anecdote, la vitesse de rotation d'uranus a été mesuré dans les années 70 en observant les nuages glacés présent sur la surface proche de l'équateur visuellement avec un objectif clark de 232mm aux us DC. Pour y avoir jeté un oeil à l'occasion d'un voyage, ce n'était pas un foudre d'optique en pensant à Myriam qui chasse le photon parasite. Mais le boulot a été fait, sur détails ténus et peu contrastés.

Si j'ai l'assurance que ces 200 ont un résidu chromatique similaire à cette 150 6.6, y'a moyen d'y faire et peut être aussi pour 235F8 qui existe 100% réalisée.

Posté

On attend remy :D 

 

les lunetttes de longues focales ont quand même pas mal d’inconvénients difficiles à contourner, hormis avec des optiques « repliés » mais on perd alors un avantage important des réfracteurs à savoir leur stabilité optique.

  • J'aime 1
Posté (modifié)
Il y a 2 heures, adamckiewicz a dit :

On attend remy :D

En fait c'est Bertrand, et c'est moins ambitieux que ça... j'ai participé au design pour du lunaire.

 

240mm f/15 N-BK7 - H-ZF2 -> objectif huilé

 

Tout rassembler pour vert - jaune -orange : cf ci-dessous. Le reste -> filtre.

+ gérer l'astigmatisme hors d'axe (anastigmat)

La voilà à droite en 530-600 : optimisée à fond.

image.png.6bcb227b66f73090a17ef0979d30c1c4.pngimage.png.ad2ee4504b48f54300e5260a55b09e06.png

palette.jpg.634f9f3d2c9ae3211443c537a74b670f.jpg

-------------------------

Ceci dit, il a aussi penser divaguer un peu sur les nébuleuses. à 1/2D M57 à x120 ça le fait en équilibrant la map rouge bleu et jaune-orange.

image.png.1205ca09f3014531fb7bc95c3f213016.png          IIMG_2310Clavrecadre.thumb.jpg.e4cc443399ab784a26423a42fa60e932.jpgUsinagefaceentreCrownau280.thumb.jpg.4d4d95f0c24a44d7624a18ee332a7d79.jpg

Bon respect, c'est lui qui bosse là.

Son premier projet la planétaire Clavé 150f15 repliée et maintenant Maître Bertrand au façonnage de la 240f15 (crown à l'abrasif 280)

Modifié par lyl
  • J'aime 1
  • Merci / Quelle qualité! 2
Posté
Il y a 18 heures, zeubeu a dit :

Ma question ne portait pas sur l'instrument polyvalent mais sur le fait qu'il y en a pas beaucoup qui taillent l'optique de leur lunette, que ce soit achro ou apo...

Tu n'imagines pas le nombre de gens qui font des trucs sans faire de pub ou qui n'ont pas de compte sur les forums.

Y a 20 (nan, 25 ans déjà), on échangeait déjà avec des ricains qui présentaient leur travaux sur sky and telescope (par lettre, pas d'internet...), qui t'envoyaient une disquette 5" avec un logiciel de raytrace et avec un peu de soin on se bricolait un correcteur reducteur achromatique (BK7-SF5)pour grand astrographe argentique.

Le pote avec qui j'ai fait ça, est absolument inconnu au bataillon, sauf dans le périmètre de son club astro.

Et je pense que plus on se spécialise, moins on trouve facilement son bonheur dans l'offre commerciale classique (grandes marques ou production artisanale), d'où le recours au fait-soit-même.

 

En tout cas, je pense qu'il n'est pas plus compliqué de réaliser un doublet en verres robustes qu'un premier miroir seul dans son coin sans aide extérieure.

La difficulté réside dans le fait qu'il faut trouver les verres et avoir la possibilité de (re)calculer 4Rc et 2 épaisseurs.

 

  • J'aime 3
Posté
il y a 31 minutes, sebastien.lebouc a dit :

En tout cas, je pense qu'il n'est pas plus compliqué de réaliser un doublet en verres robustes qu'un premier miroir seul dans son coin sans aide extérieure.

 

Oui d'ailleurs c'est la question que j'ai posée plus haut et personne ne m'a répondu.

Est-ce que ça se poli comme on poli un miroir ? Il faut un outillage particulier pour le contrôle ?

 

Posté

Oui, ça se travaille comme un miroir. Mais lors de l'avancé de l'ébauchage, il faut contrôler en même temps les 2Rc et l'épaisseur centrale, ainsi qu'une épaisseur constante sur les bords.

Le blank reposant sur 3 points, et 2 points latéraux de maintien, et avec un comparateur on contrôle le bord et le centre. sphéromètre classique pour les Rc.

Pour le controle final, test sur le ciel (mais faut monter-controler-démonter-retoucher...) on en atelier contre un flat (à oui, pas simple à trouver en grand diamètre, mais ça se trouve, la grande longueur des miroirs secondaires...). Sinon, Myriam a d'autres solutions pour controler en atelier (ou en tunnel pour être plus précis...)

 

Il me semble avoir lu que Remy33 avait un plan de contrôle.

  • J'aime 1
Posté (modifié)
Il y a 7 heures, sebastien.lebouc a dit :

Sinon, Myriam a d'autres solutions pour controler en atelier (ou en tunnel pour être plus précis...)

 

Il me semble avoir lu que Remy33 avait un plan de contrôle.

Un petit mot sur le sujet.

Pour remy-33, il contrôlera à l'ancienne, avec une lampe au sodium à 589nm, probablement pour :

- contrôler l'aberration sphérique : "le piqué" avec un oculaire de ronchi ou une mire rétro-éclairée ... au fond du jardin dans ce cas.

- on peut s'en servir aussi au préalable pour contrôler l'appairement de la surface huilée : vu la taille du disque une dizaine de lambda : 5um sur le diamètre ça tient la route. C'est 1 lambda par pouce qu'on lit souvent. Scopetech contrôle pareil chaque face sur leur 80mm, mais eux ils ont des tests plates.

La ça va plutôt se faire au sphéromètre, au contrôle de la focale du crown et tolérance de l'appairement de l'entreverre.

Pour la couleur, l'objectif est contraint par le type de verre et le fait que le centre soit huilé. Ca ne varie pas beaucoup.

 

Pour d'autres objectifs, et ce qui me concerne, j'ai acquis quelques lampes à gaz pour ajuster le chromatisme et l'aberration sphérique. Ce sont des tubes à décharge dit de Plucker. J'ai déjà essayé sur un objectif Vixen 80/910°.

---------------------------

° : l'objectif Vixen 80/910. A la lampe hydrogène, quand j'ai regardé l'image du trou défocalisée, les cercles rouge H-alpha 656 et bleu H-beta (486) se superposent.

Cela signifie que le meilleur focus est donc commun : un joli point violet très concentré. C'est sur un fond jaune poussin quand on pointe les étoiles.

 

On peut détecter moins de 10nm de calage à f/11. A f/D plus court, c'est compliqué à cause du sphérochromatisme.

 

Voilà l'apparence de 7.5nm de différence pas loin du focus (1/15e de tour de molette du focus vert), difficile mais on peut le voir avec un oculaire de 6mm à f/11.

Note en ratio du disque d'Airy : Bd=745Δ/F2 pour 550nm (varie en 1/λ) soit 6 fois le disque étoile (jaune-vert) pour 1mm et environ 3 pour le bleu 4 pour le rouge.

 

Ne pas oublier non plus que l'oeil lui-même n'est pas innocent à la modification du chromatisme : à une pupille standard de 2mm il fait converger le bleu de 0.4 λ en avant du vert et 0.4λ en arrière pour le rouge, ça se réduit quand la pupille diminue. C'est pour celà qu'on recommande de faire les tests de diffraction à faible pupille, genre >2D ou <0.5mm et qu'il faut mettre hors focus pour avoir quelque chose de consistant sans que l'oeil interfère plus que nécessaire. 3-4 disques d'Airy et <0.5mm de pupille (x160 sur une lunette de 80mm) c'est déjà pas mal.

image.png.e8bd2119f99315740e20554759ab1da4.png

Modifié par lyl
Posté

Fabriquer une lentille est plus compliqué qu'un miroir car il y a deux faces à réaliser tout en maintenant une épaisseur entre ces deux faces.

En plus, il te faut du verre de qualité car la lumière traverse le verre contrairement à un miroir où elle ne fait que rebondir dessus.

 

Un des livres les plus complets sur le sujet est "Making a refractor telescope" de Norman Remer en anglais :

https://www.firstlightoptics.com/books/making-a-refractor-telescope-how-to-design-grind-polish-test-correct-and-mount-a-doublet-lens-book.html

 

J'ai commencé à lire ce livre mais il faut que je le digère.^^

 

Le 27/09/2021 à 19:12, lyl a dit :

le premier triplet de Roland Christen 150f10 (Sky & Telescopes)

 

Il y a aussi le triplet apo oiled-spaced Zen 150 mm f 10. Il semble conçu pour le visuel vu son rapport d'ouverture de 10.

Posté (modifié)
Il y a 14 heures, oliver55 a dit :
Le 27/09/2021 à 19:12, lyl a dit :

le premier triplet de Roland Christen 150f10 (Sky & Telescopes)

 

Il y a aussi le triplet apo oiled-spaced Zen 150 mm f 10. Il semble conçu pour le visuel vu son rapport d'ouverture de 10.

Un triplet 153f/9 sans le verre dernier cri pour doublet suffit, et il peut atteindre 240mm f11 je pense.

Le verre ED pour faciliter est dispo chez tous les grands fondeurs et en grand diamètre. Ca viendra peut-être. Sinon il y a LZOS.

153-1360-FPL51.JPG.c072cc3838488e065022f7a3a198ad12.JPG

Note : ce triplet est apo (TMB) à f/8, convenable pour l'astro-photographie à de f/D mais pas optimal en visuel planétaire (à cause du sphérochromatisme). L'intérêt est de dépasser 150mm avec ce diamètre, commencer plutôt à 180, le prix croit moins vite.

Modifié par lyl
Posté
Il y a 6 heures, lyl a dit :

Le verre ED pour faciliter est dispo chez tous les grands fondeurs et en grand diamètre.

 

Tu penses qu'ils utilisent ça chez APM pour faire leur 180F7 et 200 F7 ?

 

https://www.apm-telescopes.de/en/telescopes/apochromatic-refractors/apm-apo-refractors/apm-photo-visual-sd-triplet-apo-180-mm-f-7-f-5.6.html

 

https://www.apm-telescopes.de/en/telescopes/apochromatic-refractors/apm-apo-refractors/apm-203-mm-f-7-triplet-apo--optical-tube.html

Posté (modifié)
Il y a 2 heures, zeubeu a dit :

Tu penses qu'ils utilisent ça chez APM

Non, c'est le verre suivant :

-> SD Apo ( FCD 100) objective 180 mm f/7, air gap

En ce moment Hoya a plus de disponibilité en diamètre >=160mm pour les blanks et les strips glass.

 

Je ne peux dire si c'est parce qu'ils sont meilleurs à la fabrication ou parce que c'est de l'invendu en stock, je n'ai pas trouvé d'information pérenne là-dessus.

 

Les cycles de fabrication dépassant un an (>60semaines chez Schott), c'est difficile d'être à jour. La tendance est toutefois générale sur les verres SD à 160mm en achat direct et sur commande avec fort surcout au-dessus. Ma source est Sky & Telescopes (d'après Vic Maris, Stellarvue) et Istar Optical.

 

Pour la 10", j'avais regardé le design : il y a de l'asphérisation qui est utilisée.

-----------------------------------------------

Et je rajoute : ce n'est pas sûr que ce soit du FCD100 de chez Hoya, j'étais partie sur la combinaison LZOS pour ça.

 

Ca reste impressionnant en compacité mais pas en poids.

Modifié par lyl
  • J'aime 1
Posté
Il y a 8 heures, lyl a dit :

Et je rajoute : ce n'est pas sûr que ce soit du FCD100 de chez Hoya,

 

Peut-être que c'est du CDGM tout simplement? 

 

Il y a 17 heures, lyl a dit :

Un triplet 153f/9 sans le verre dernier cri pour doublet suffit, et il peut atteindre 240mm f11 je pense.

 

A grand diamètre (supérieur à 200 mm), l'équilibre thermique des lentilles d'un objectif ne fait-il pas préférer un doublet de lentilles au lieu d'un triplet de lentilles?

Posté
il y a une heure, lyl a dit :

C'est plus simple en doublet, mais à partir du moment ou tu mets des verres fluorés tu fais les calculs et tu pries.

 

Avec un volume de verres et d'air entre les lentilles qui augmente, certains astronomes préfèrent les doublets de lentilles en tant qu'objectifs car ils disent que ces lunettes-là réagissent plus vites aux changements de température se produisant tout au long de la nuit.

Posté (modifié)
Il y a 5 heures, oliver55 a dit :

Avec un volume de verres et d'air entre les lentilles qui augmente

Wow de la turbulence dans l'entreverre, on me l'avait jamais faite celle là.

Sauf erreur de ma part l'air est isolant, dans le sens qu'il ne transmet pas beaucoup la chaleur. Il faut un sacré débit en l/mn pour que tu fasses passer des calories et déformer l'optique.

Je vais regarder les specs de mon décapeur thermique...

Ah oui 300l/mn ...

Ca en fait des mm pour faire 300l...

------------------

Non ce sont les propriétés des verres qui gouverne.

La Burgess "Planet Hunter", un doublet 102mm S-PHM52 + S-LAH51 de Thomas M Back n'a jamais rien chassé car il n'a jamais été stable.

On est pas toujours bon partout...

Schott : comportement dynamique, constante G

https://www.schott.com/d/advanced_optics/3794eded-edd2-461d-aec5-0a1d2dc9c523/1.1/schott_tie-19_temperature_coefficient_of_refractive_index_eng.pdf

image.png.beeb37f06740971357983318545a7ba5.png

image.png.9471033bc014bdbf927e69e6741b9e9c.png

Gcrown= 10.1 (.618) + (-3.6) => 2.64

LTCdyncrown=Gcrown/0.618 -> 4.272

Cc~=2.76 dpt (j'ai le design)

image.png.83dd21258df7eb7d0f7d7e75aec51429.png

Gflint= 5.9 (.7859) + 6.3 -> 10.94

LTCdynflint=Gflint / .7859 -> 13.92

Cf=-1.94 dpt

Condition athermique :

Résultat : betadyn=11.79-27=-15.21

c'est pire que chaque verre individuellement.

 

Note : j'ai oublié d'entourer la conductivité thermique ... c'est sûr que ça se stabilise moins vite quand ça conduit pas les calories.

Voilà celle du équivalent BK7 et F2 Ohara :

image.png.3d928690ac7185550f9671ae9b6dd658.pngimage.png.403d9ceb2fdfa197b9afd247eacf2976.png

CQFD

Je ne vais pas faire le comportement en statique car c'est encore pire (alpha - dn/dt)

image.png

Fin de l'histoire.

Modifié par lyl
Posté
il y a 25 minutes, lyl a dit :

Wow de la turbulence dans l'entreverre, on me l'avait jamais faite celle là.

 

On ne prend pas l'avion que je sache. ;)

Je dis juste qu'un triplet apo est plus long à mettre en température qu'un doublet de lentilles si il est espacé d'air.

L'air joue un rôle d'isolant thermique on est bien d'accord.

  • J'aime 2
Posté
Il y a 6 heures, lyl a dit :

Wow de la turbulence dans l'entreverre, on me l'avait jamais faite celle là.

 

Et non lol c'était pas dans le sens qu'il y aurait de la turbulence interne entre les verres :-)

Mais c'est sûr que la lentille frontale ne sera pas à la même température que la lentille interne pendant un moment !!

Il faudrait mettre des petits ventilateurs latéraux pour brasser l'air entre les lentilles...

 

Fred

 

  • J'aime 1
Posté (modifié)
Il y a 16 heures, oliver55 a dit :

Je dis juste qu'un triplet apo est plus long à mettre en température qu'un doublet de lentilles si il est espacé d'air.

Oui et non, ça dépend de deux facteurs.

 

Un facteur faible : l'interface air-verre

C'est l'échange thermique axial.

 

alpha : coefficient de dilatation thermique

k : conductivité thermique

n : indice de réfraction du verre

h : épaisseur

q : quantité de chaleur mise en jeu

dn/dT : variation d'indice de réfraction en fonction de la température

1/f : convergence en dioptrie ou plus facilement -> inverse de la focale du ménisque/de la lentille

 

Une fenêtre plane se déforme comme suit avec un gradient de température entre les deux faces (une plus chaude, l'autre plus froide)

IMAG0634-axial.jpg.f25224fe2aa69bbeed9fa7a4a4d1be9b.jpg

 

Un facteur fort : les échanges avec les matériaux de soutien ou de contact.

Lors de la mise en température, la chaleur du centre de la fenêtre plane se diffuse vers le bord, vers la cellule, plus froide créant, approximativement, un gradient de température parabolique que l'on modélise.

Le bord se rétrécit causant une convergence.

Le facteur de variation beta est le coefficient de variation de la convergence sur-ajoutée

IMAG0634-radial.jpg.d6f53eb50b3e57c93af723fc5d67a14e.jpg

 

Il y a 16 heures, oliver55 a dit :

L'air joue un rôle d'isolant thermique on est bien d'accord.

Je comprends mieux.

En effet, avec un contact huile ou colle, l'échange thermique est plus rapide.

 

Ca ne change rien à ce qui est démontré au-dessus.

Pour un système optique constitué par l'objectif il y a également deux variations :

- statique (variation lente) : variation de la focale avec la température (montré au dessus)

=> très nuisible à l'astro-photo, il faut, potentiellement, refaire la map régulièrement

- dynamiquement° (variation locale rapide vs gradient température) : modification rapide du front d'onde.

=> le système n'est pas stable sur sa surface optique et donc à moindre mesure sur le front d'onde, c'est nuisible pour du détail instantané ou de courte période.

En visuel planétaire c'est une catastrophe.

 

° je n'ai plus les calculs pour la démonstration dynamique, on prend le facteur donné par SCHOTT :

On voit que dn/dT est présent mais avec un signe positif cette fois.

image.png.beeb37f06740971357983318545a7ba5.png

 

Au final on s'intéresse au système optique. (formule idem pour la perturbation dynamique)

Lens-Variation3.JPG.5bca1d8f63112f32d5c2513bb48662fe.JPG

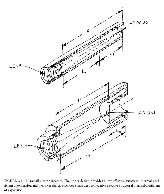
Il y a des solutions pour l'astro-photo : changer le matériau du tube ou associer des tubes à dilatation différente pour compenser.

La fibre de carbone est un exemple.

AthermalTube1.JPG.eb597fe1bf66f5e4ea69861018ad6acc.JPGAthermalTube2b.JPG.81296521eee82ad9162f964f368055f9.JPG

AthermalTube3.JPG.943a0725ea346d1149c6cae065170467.JPGAthermalTube4.JPG.34bdc090538c3ce5091f5c4474f956dc.JPG

 

Donc oui un triplet cémenté ou huilé : c'est plus rapide à se stabiliser.

 

Application sur un autre objectif.

Pour ma part sur un tout petit design de 90mm en cours j'ai vérifié sur la paire choisie BAK2-F5

En statique :

0.17mm entre 0 et 20° sur le F5-BAK2

0.03mm sur le F2-BK7

compte tenu du f/D de 14 : c'est négligeable en observation visuelle

 

En dynamique : le verre frontal BAK2 est similaire au BK7

GBAK2 = 8.6 * 0.54 + 1.9 -> 6.54 contre GBK7-ohara = 7.2 * 0.516 + 2.6 -> 6.32

GF5 = 8.3 * 0.604 + 2.4-> 7.41 contre GF2-ohara = 8.1 * 0.62 + 2.7 -> 7.72

La combinaison en dynamique.

GBAK2+F5 = 4.93

GBK7+F2 = 4.46

 

Maintenant si on s'intéresse à l'effet du tube Aluminium ou Kruppax entre 0 et 20°

On a 23*20=460.10-6 = 0.46mm d'allongement.

Au final : la mise en température statique est moins génante sur une longue observation, ce n'est pas énorme, c'est juste pour cadrer. La stabilité dynamique est moindre mais on a un long f/D, ça reste excellent.

 

Un autre exemple pourrait être l'objectif collé H-K9L-H-ZF2 :

C'est encore mieux et cela a été vérifié sur le terrain (moi et d'autres observateurs à RocBaron)

Il est implémenté dans une lunette légère qui est très intéressante pour du grab'n go et de l'observation minute. (voir le post 80mm de qualité sur Astro-Vintage).

 

Effectivement, reformulé comme ça je rejoins @oliv55

 

Sur un triplet avec verre ED, on a intérêt à vérifier cela.

Le verre ED se comporte correctement voire très bien dynamiquement mais pas terrible en statique, il faut contrôler comment ça se passe avec la combinaison associée.

Tout seul devant, c'est pas si mal que ça, si il est bien traité anti-rayures et agressions chimiques de l'atmosphere.

C'est le cas de la formule apo au dessus qui le laisse seul séparé d'air.

GS-FPL51=13.1 * 0.497 - 5.9 = 0.61 (coeff dynamique)

En coefficient beta (alongement statique de la focale) : beta=13.1 + 5.9/0.497 = 24.97

Le tube alu seul (23) convient encore, en général la partie "flint" est divergente et retranche de la dilatation. En revanche elle peut être huilée, ce qui la rend moins sensible en dynamique, de plus elle est en arrière.

Modifié par lyl
  • Merci / Quelle qualité! 1
Posté

On est donc d'accord @lyl:)

 

Les barillets d'objectifs des lunettes astronomiques antiques semblent être réalisés en laiton (ou alliage du même genre).

D'aprés ce que tu viens de démontrer, cela avait donc sans doute son importance dans le bon fonctionnement des optiques. 

  • J'aime 1
Posté (modifié)

spacer.png

 

En mode [HS] j'ai reçu ce jour le filtre Astronomik Luminance L3 en 2" vissé dans le RC que j'ai pu tester sur mon Achromat 102 mm à f/11 pour l'essentiel du temps sur Jupiter, la turbulence locale ne m'a pas permis d'aller de façon efficace au delà de X112 (focale de ma Lunette 1122 mm), en résumé : atténuation très nette du halo bleu, gain significatif en contraste et en détails.

Chose curieuse, les deux ou trois fois où j'ai pu pousser à X160 (Nikon NAV-SW 7 mm) halo bleu disparu, certainement l'oculaire Nikon vs le Pentax XW 10 mm (X 112), à X160 toujours du contraste et des détails.

Transit de Io et GTR dans la BES bien visibles. Fin du Mode [HS].

Modifié par Astro_007
  • J'aime 2
Posté (modifié)
Il y a 17 heures, Astro_007 a dit :

atténuation très nette du halo bleu

 

Je te crois sur parole mais j'aimerai comprendre, pourquoi un filtre qui laisse passer tout le spectre du visible (il coupe les UV et IR) devrait te supprimer le halo bleu ???

 

Sur la description du filtre c'est bien indiqué qu'il coupe le halo bleuté des étoiles sur une achro mais je vois pas pourquoi il le ferai...

 

C'est parce que le filtre coupe dès les 400 nm environ ??

 

Edit: j'ai trouvé...En fait c'est une petite partie du violet qui est coupé (violet 455-390 nm)

 

Modifié par zeubeu
Posté (modifié)

@zeubeu c'est la remarque de Stanislas qui a attiré mon attention.

Effectivement ça fonctionne très bien, ça ne le supprime pas totalement mais il ne reste qu'une quantité très négligeable qui s'avère être très discrète, Jupiter est un bon test pour ça, sur étoile brillante aussi.

Le gain en contraste est très net.

 

Il est bon de savoir que ma f/11 présente déjà peu de halo bleu sans filtre.

Modifié par Astro_007
Posté

Vous avez donc mis en œuvre le L3 et constaté le gain obtenu.

Pour zeubeu, relativement à la courbe de transmission du L3, bande passante 420-680nm à 50% d'atténuation, le gain sur le papier est déjà évident.

Imaginez sur une ouverture bien plus forte? 150-200mm.

On image bien avec ce style de filtre avec la ccd et le gain obtenu en parallèle et l'image n'en sort pas dénaturée.

Le filtre RG435 baader pour les nuages martiens reste bien utilisable avec 15nm de bande passante résiduelle, une clarté oculaire suffisante et une réduction du halo en supplément pour un strehl revigoré.

Pas belle la vie?

Le filtre MV Lumicon fait le même boulot en coupant en dessous de 415-420nm et laissant passer le rouge et le NIR.

Selon le calage des verres, il peut être suffisant, mais pas en calant avec un joint élastique style néoprène. Une variation de 0.1-0.2mm à l'espacement fait dériver les points de réglages du doublet.

Pas étonnant que jorris observe cette dérive de couleur résiduelle à l'oculaire pendant la mise en température notamment (rapporté dans un autre forum sur le calage nécessaire), mais ce n'est sans doute qu'une partie, déjà importante, du problème.

Istar l'a bien vu en calant mécaniquement les verres avec du métal, cela ne dérive pas.

 

 

Posté (modifié)

Depuis le temps que j'écris que pour le visuel, il vaut mieux éliminer la plage sans contraste qui ne fait qu'éblouir nos "détecteurs" en observation planétaire.

Pour le champ profond, les nébuleuses qui émettent à 435nm existent mais c'est uniquement avec des instruments collecteurs de photons qu'on peut les observer avec du grossissement. Une correction faible est utile mais pas plus, surtout si on observe un confetti à 3-5mm de pupille avec un réfracteur de 150mm. J'ai déjà vu the blue snowball NGC 7662, c'était avec un dobson 400, c'est difficile à apprécier mais on y voit ce violet (oculaire de 15mm et 8mm 100 et 200x)

Il y a 4 heures, Algenib a dit :

Le filtre RG435 baader

Quelle est la référence de ce filtre, Baader ne semble pas avoir ce modèle en stock.

Le RG435 semble faire référence à un verre teinté dans la masse (de chez Schott reférence GG435)

Il y a 4 heures, Algenib a dit :

Selon le calage des verres, il peut être suffisant, mais pas en calant avec un joint élastique style néoprène. Une variation de 0.1-0.2mm à l'espacement fait dériver les points de réglages du doublet.

Peux-tu expliquer ?

L'utilisation de joint élastique est chose récente, je ne penses pas que tu aies compris comment on le place.

Il ne s'agit pas de l'intercaler au bord mais sous l'anneau de retenue.

 

--------------------------

 

Pour ce qui est du bord, il est chose courante en optique de précision de restreindre le jeu à ce qui est nécessaire.

En aluminium, la dilatation est autour de alpha=23*10-6 m/°C, ce qui donne pour 20°C d'écart : 460um par mètre ou 69um <-> 0.069mm pour une cellule de 150mm de diamètre.

Cela correspond en mécanique à la tolérance minimale d'un alésage entre tournant et libre : 0.15mm ou 1/1000 du diamètre.

 

Quand il y a plus de jeu que nécessaire : c'est néfaste pour la collimation, surtout pour les optiques très ouvertes.

A 90f/11, achromat :  0.1mm <-> 2% de strehl sur un doublet achromatique.

 

Les recommandations de Paul Yoder (NASA & US Army, spécialiste imagerie pendant la guerre froide KH-9 Hexagon spy satellite project) ont une valeur certaine.

sealant1.JPG.f8cc9688f506fc2b8b6079b234eae903.JPGsealant2.JPG.267923052a777bbd718a029af848664b.JPGimage.png.508915865e47a921db048af5f1ffdbb1.png

Parmi les recommandations : le RTV 660 est un silicone de moulage qui a la consistance d'un joint de porte / balais d'essuie glace.

https://www.ebay.fr/itm/254658945208?hash=item3b4adb20b8:g:VaoAAOSwp5JWbb6e

On trouve facilement d'autres silicones type "silicone de moulage" qui peuvent prendre des faibles épaisseurs.

Une simple application en couche mince genre 0.2mm peut arranger des problèmes de lentille qui bougent de 0.5mm sans pour autant contraindre l'optique. J'ai eu le cas sur une optique linear 127, une des lentilles était plus petite de 1mm de diamètre. A cette époque j'ai découpé des cales dans un dessous de verre en liège plastifié en surface.

 

En conclusion, un peu c'est bien, c'est indispensable mais trop c'est risqué, ça risque d’ébrécher le verre et de dégrader l'image.

Takahashi cale les lentilles de la FSQ avec des morceaux d'élastomère transparent.

http://www.astrosurf.com/topic/147400-a-lintérieur-des-ateliers/

cales1.jpg.da8778426a380c593763d69c29f38af0.jpgcales2.jpg.6cc11cbc9b782162aa478064a2f9b488.jpg

Modifié par lyl

Rejoignez la conversation !

Vous pouvez répondre maintenant et vous inscrire plus tard. Si vous avez un compte, connectez-vous pour poster avec votre compte.

Invité
Répondre à ce sujet…

×   Collé en tant que texte enrichi.   Coller en tant que texte brut à la place

  Seulement 75 émoticônes maximum sont autorisées.

×   Votre lien a été automatiquement intégré.   Afficher plutôt comme un lien

×   Votre contenu précédent a été rétabli.   Vider l’éditeur

×   Vous ne pouvez pas directement coller des images. Envoyez-les depuis votre ordinateur ou insérez-les depuis une URL.

  • En ligne récemment   0 membre est en ligne

    • Aucun utilisateur enregistré regarde cette page.
×
×
  • Créer...

Information importante

Nous avons placé des cookies sur votre appareil pour aider à améliorer ce site. Vous pouvez choisir d’ajuster vos paramètres de cookie, sinon nous supposerons que vous êtes d’accord pour continuer.